专利数据库
统计分析
产业报告
专利数据监控
产业人才
行业动态
产业政策法规
维权援助
个人中心
详情
文本
图像
标题
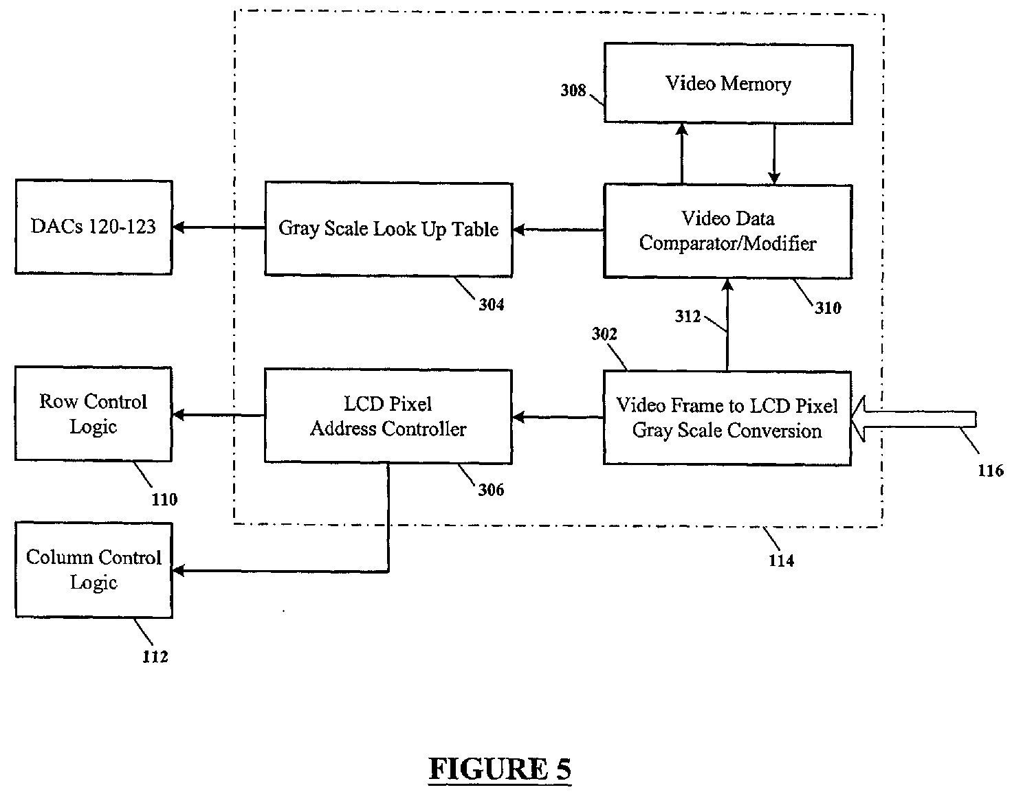
Image quality improvement for liquid crystal displays
授权日
1900-01-01
公开(公告)号
EP1225558A1
申请日
2002-01-21
公开(公告)日
2002-07-24
当前申请(专利权)人
THREE-FIVE SYSTEMS, INC.
发明人
PFEIFFER, MATTHIAS | T.P. KLEIN, TERRANCE R. | WATERMAN, JOHN KARL
简单同族
EP1225558A1 | HK1050261A | KR1020020062601A | TW538397B | US20020097207A1 | US20020135550A1 | US20040196237A1 | US20040196238A1 | US6727872 | US6731257 | US6972745 | US6999052
简单同族成员数量
12
简单同族被引用专利总数
137
诉讼案件数
0
法律状态/事件
撤回
抱歉,您的浏览器不支持PDF预览,请点击链接下载PDF文件