专利数据库
统计分析
产业报告
专利数据监控
产业人才
行业动态
产业政策法规
维权援助
个人中心
详情
文本
图像
标题
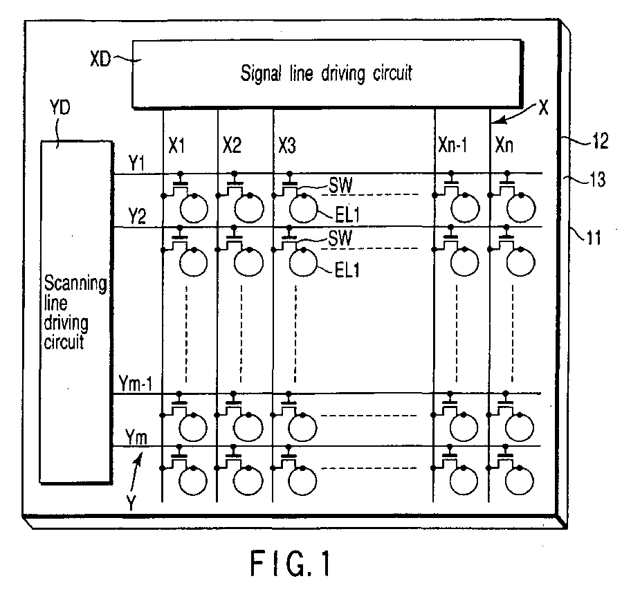
Liquid crystal display device
授权日
1900-01-01
公开(公告)号
EP1296175A3
申请日
2002-09-17
公开(公告)日
2004-01-28
当前申请(专利权)人
PRESIDENT OF TOYAMA UNIVERSITY
发明人
OKADA, HIROYUKU | OHNO, HIROSHI | ONNAGAWA, HIROYOSHI
简单同族
EP1296175A2 | EP1296175A3 | JP2003091009A | JP3656103B2 | KR100474608B1 | KR1020030025206A | US20030053020A1 | US6894752
简单同族成员数量
8
简单同族被引用专利总数
51
诉讼案件数
0
法律状态/事件
撤回
抱歉,您的浏览器不支持PDF预览,请点击链接下载PDF文件