专利数据库
统计分析
产业报告
专利数据监控
产业人才
行业动态
产业政策法规
维权援助
个人中心
详情
文本
图像
标题
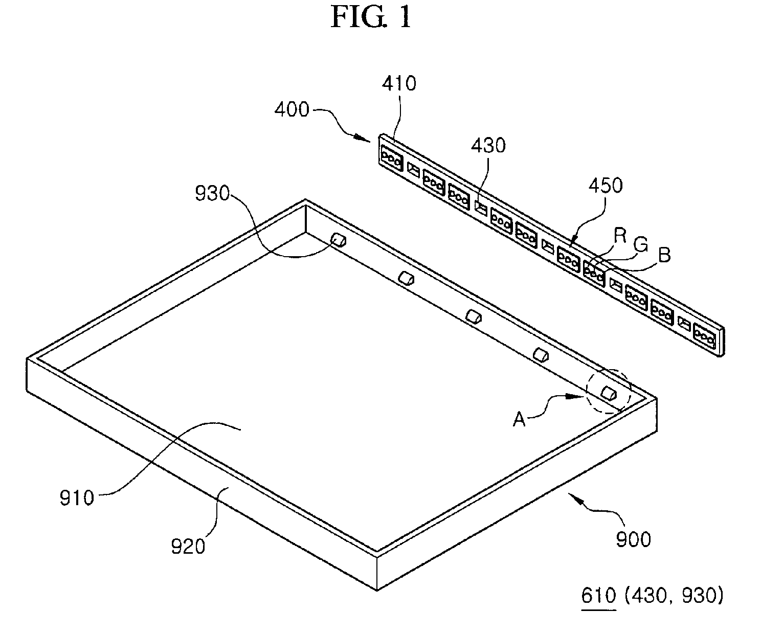
Backlight assembly and liquid crystal display having the same
授权日
1900-01-01
公开(公告)号
EP1956422A2
申请日
2008-01-31
公开(公告)日
2008-08-13
当前申请(专利权)人
SAMSUNG DISPLAY CO., LTD.
发明人
CHANG, MOON HWAN | KIM, GI CHERL
简单同族
EP1956422A2 | EP1956422A3 | EP1956422B1 | KR101319585B1 | KR1020080073597A | US20080186425A1 | US8059226
简单同族成员数量
7
简单同族被引用专利总数
71
诉讼案件数
0
法律状态/事件
授权 | 权利转移
抱歉,您的浏览器不支持PDF预览,请点击链接下载PDF文件