专利数据库
统计分析
产业报告
专利数据监控
产业人才
行业动态
产业政策法规
维权援助
个人中心
详情
文本
图像
标题
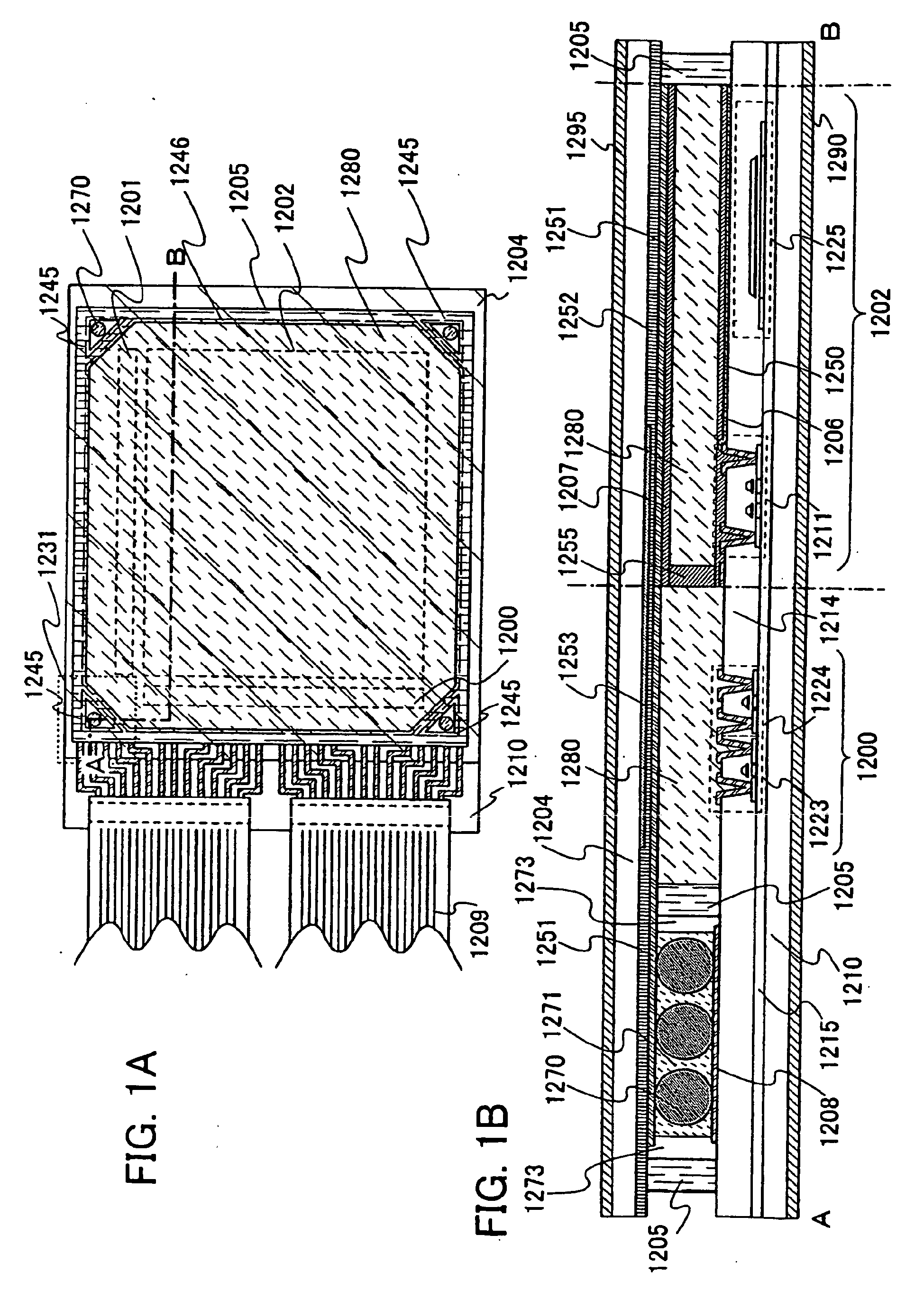
Liquid crystal display device and manufacturing method thereof
授权日
2010-06-30
公开(公告)号
EP1992983B1
申请日
2008-05-16
公开(公告)日
2010-06-30
当前申请(专利权)人
SEMICONDUCTOR ENERGY LABORATORY CO., LTD.
发明人
ISHITANI, TETSUJI
简单同族
DE602008001626D1 | EP1992983A1 | EP1992983B1 | JP2009003437A | JP2009003437A5 | JP2014081661A | JP5702005B2 | US20080284970A1 | US8325310
简单同族成员数量
9
简单同族被引用专利总数
62
诉讼案件数
0
法律状态/事件
授权
抱歉,您的浏览器不支持PDF预览,请点击链接下载PDF文件