专利数据库
统计分析
产业报告
专利数据监控
产业人才
行业动态
产业政策法规
维权援助
个人中心
详情
文本
图像
标题
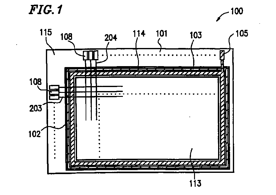
Liquid crystal display device
授权日
1900-01-01
公开(公告)号
EP1055960A2
申请日
2000-05-23
公开(公告)日
2000-11-29
当前申请(专利权)人
SHARP KABUSHIKI KAISHA
发明人
FUJIOKA, KAZUYOSHI | NAKAJIMA, KAZUKO | OKAZAKI, TSUYOSHI | OCHI, TAKASHI
简单同族
DE60002124D1 | DE60002124T2 | EP1055960A2 | EP1055960A3 | EP1055960B1 | JP2000338510A | JP3497098B2 | KR100375748B1 | KR1020000077432A | TW581900B | US6803976
简单同族成员数量
11
简单同族被引用专利总数
78
诉讼案件数
0
法律状态/事件
权利终止
抱歉,您的浏览器不支持PDF预览,请点击链接下载PDF文件