专利数据库
统计分析
产业报告
专利数据监控
产业人才
行业动态
产业政策法规
维权援助
个人中心
详情
文本
图像
标题
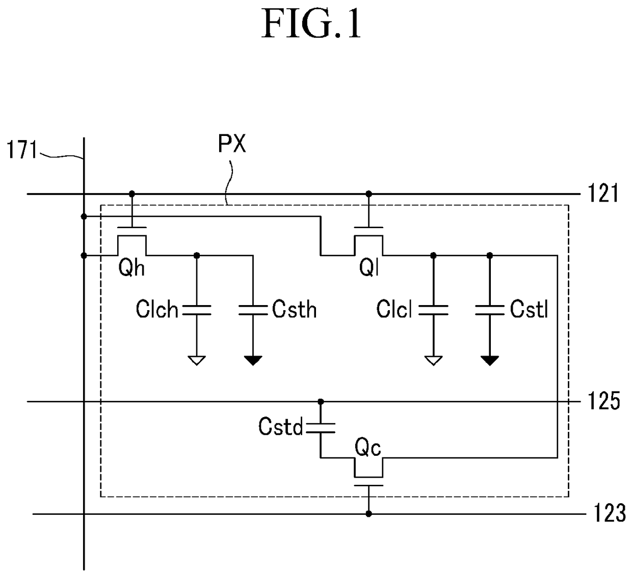
Liquid crystal display
授权日
2017-07-26
公开(公告)号
EP2520974B1
申请日
2012-04-27
公开(公告)日
2017-07-26
当前申请(专利权)人
SAMSUNG DISPLAY CO., LTD.
发明人
KWON, OH JEONG | PARK, JAE HONG | YUN, SUNG-JAE | LEE, HYEOK JIN | JUNG, MEE HYE | JIANG, SHUAI | PARK, KYUNG HYE | KIM, JAE-HOON
简单同族
CN102998854A | CN102998854B | EP2520974A1 | EP2520974B1 | KR1020120124012A | US20120281173A1 | US20150085238A1 | US8902386 | US9442322
简单同族成员数量
9
简单同族被引用专利总数
59
诉讼案件数
0
法律状态/事件
授权 | 权利转移
抱歉,您的浏览器不支持PDF预览,请点击链接下载PDF文件