专利数据库
统计分析
产业报告
专利数据监控
产业人才
行业动态
产业政策法规
维权援助
个人中心
详情
文本
图像
标题
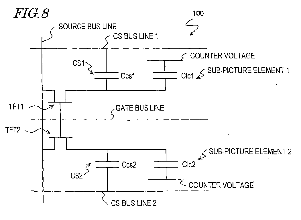
Liquid crystal display
授权日
1900-01-01
公开(公告)号
EP2051136A1
申请日
2007-08-09
公开(公告)日
2009-04-22
当前申请(专利权)人
SHARP KABUSHIKI KAISHA
发明人
SHIMOSHIKIRYOH, FUMIKAZU | IRIE, KENTAROH | TAKEUCHI, MASANORI | NAGASHIMA, NOBUYOSHI | TSUBATA, TOSHIHIDE
简单同族
CN101501561A | CN101501561B | EP2051136A1 | EP2051136A4 | JP5148494B2 | JPWO2008018552A1 | US20100182345A1 | US20120281168A1 | US8674919 | WO2008018552A1
简单同族成员数量
10
简单同族被引用专利总数
86
诉讼案件数
0
法律状态/事件
撤回
抱歉,您的浏览器不支持PDF预览,请点击链接下载PDF文件