专利数据库
统计分析
产业报告
专利数据监控
产业人才
行业动态
产业政策法规
维权援助
个人中心
详情
文本
图像
标题
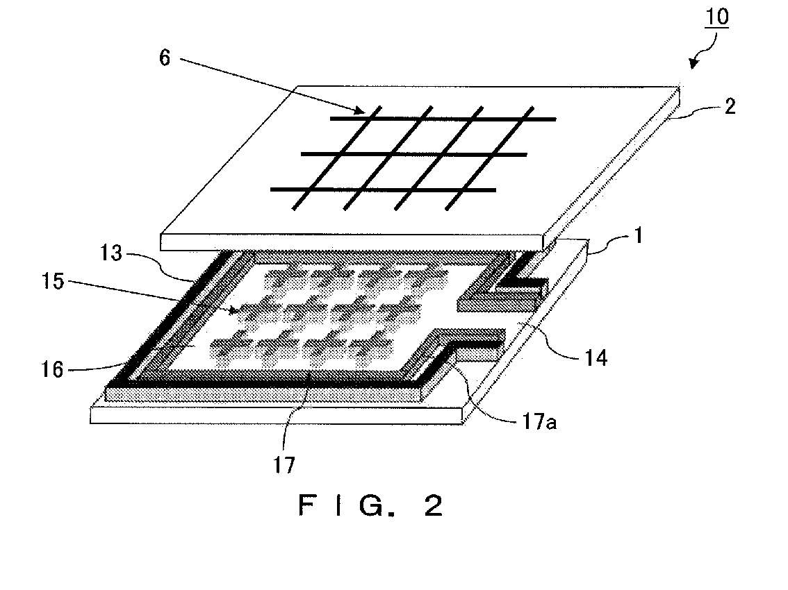
Liquid crystal display device
授权日
1900-01-01
公开(公告)号
EP1862845A1
申请日
2005-03-18
公开(公告)日
2007-12-05
当前申请(专利权)人
FUJITSU LTD.
发明人
TOMITA, JUNJI, C/O FUJITSU LIMITED | NOSE, MASAKI, C/O FUJITSU LIMITED | SHINGAI, TOMOHISA, C/O FUJITSU LIMITED
简单同族
CN100565302C | CN101142517A | EP1862845A1 | EP1862845A4 | JP4871265B2 | JPWO2006100713A1 | KR100929962B1 | KR1020070108910A | US20080068553A1 | US20110261304A1 | US8508708 | WO2006100713A1
简单同族成员数量
12
简单同族被引用专利总数
69
诉讼案件数
0
法律状态/事件
撤回
抱歉,您的浏览器不支持PDF预览,请点击链接下载PDF文件