专利数据库
统计分析
产业报告
专利数据监控
产业人才
行业动态
产业政策法规
维权援助
个人中心
详情
文本
图像
标题
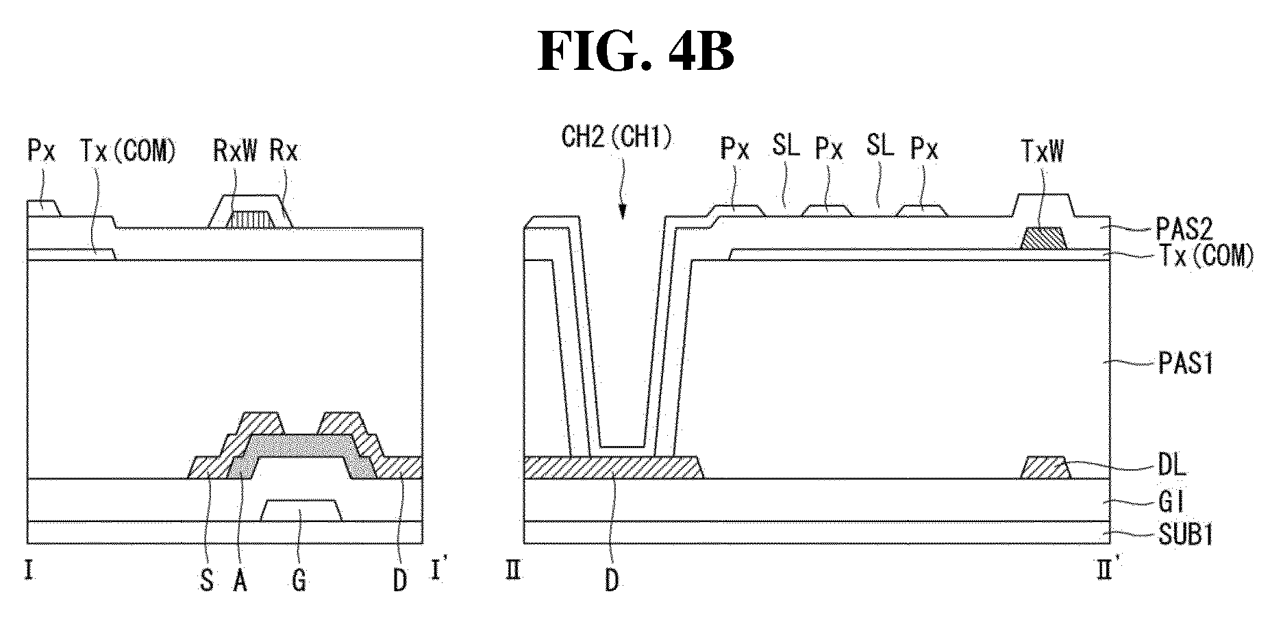
Touch sensor integrated type display device and method of manufacturing the same
授权日
1900-01-01
公开(公告)号
EP2743752A1
申请日
2013-08-29
公开(公告)日
2014-06-18
当前申请(专利权)人
LG DISPLAY CO., LTD.
发明人
KIM, CHEOLSE | KIM, JUHAN | KIM, HOONBAE | HAN, SUNGSU | KIM, JINSEONG | HAN, MANHYEOP
简单同族
CN103870056A | CN103870056B | EP2743752A1 | EP2743752B1 | JP2014115613A | JP2015172788A | JP5848295B2 | JP6321582B2 | KR101318448B1 | US20140160066A1 | US9535523
简单同族成员数量
11
简单同族被引用专利总数
98
诉讼案件数
0
法律状态/事件
授权
抱歉,您的浏览器不支持PDF预览,请点击链接下载PDF文件