专利数据库
统计分析
产业报告
专利数据监控
产业人才
行业动态
产业政策法规
维权援助
个人中心
详情
文本
图像
标题
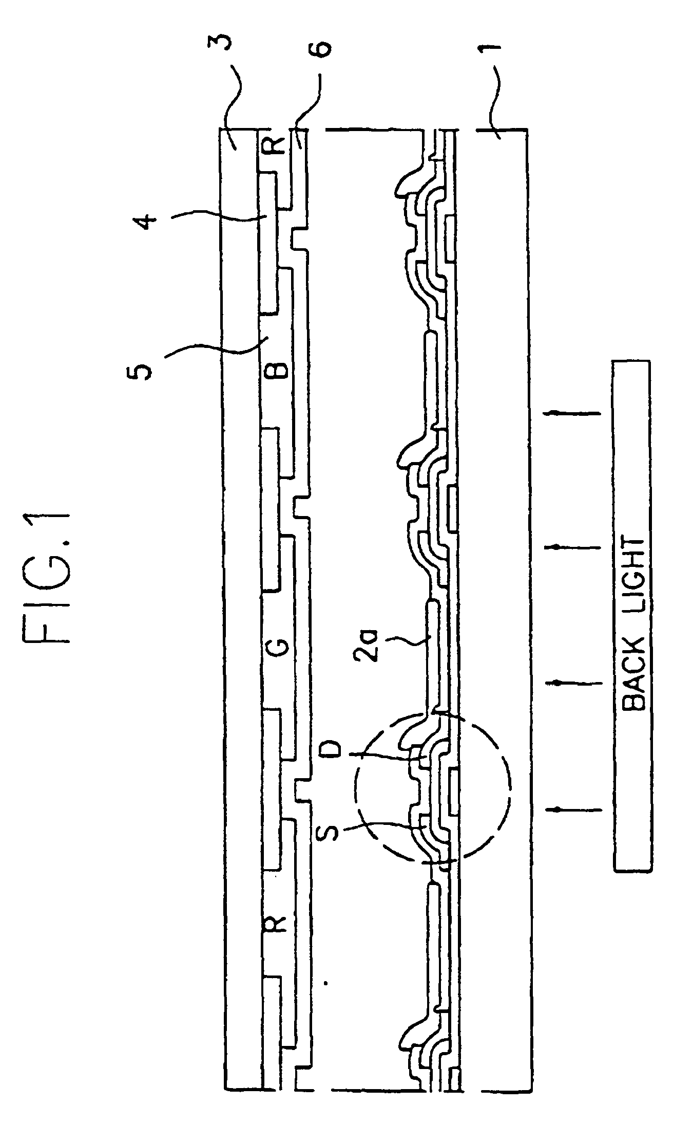
Liquid crystal display
授权日
2011-11-02
公开(公告)号
EP1058232B1
申请日
2000-06-02
公开(公告)日
2011-11-02
当前申请(专利权)人
SAMSUNG ELECTRONICS CO., LTD.
发明人
KWON, OH-KYONG
简单同族
AT532168T | CN1129026C | CN1139909C | CN1154000C | CN1276590A | CN1278073A | CN1281155A | EP1058232A2 | EP1058232A3 | EP1058232B1 | EP1058233A2 | EP1058233A3 | EP1061498A2 | EP1061498A3 | EP1061498B1 | JP2001027751A | JP2001027893A | JP2001042842A | KR100291770B1 | KR1020010001483A | TW559765B | US6486930 | US6525710
简单同族成员数量
23
简单同族被引用专利总数
203
诉讼案件数
0
法律状态/事件
期限届满 | 权利转移
抱歉,您的浏览器不支持PDF预览,请点击链接下载PDF文件