专利数据库
统计分析
产业报告
专利数据监控
产业人才
行业动态
产业政策法规
维权援助
个人中心
详情
文本
图像
标题
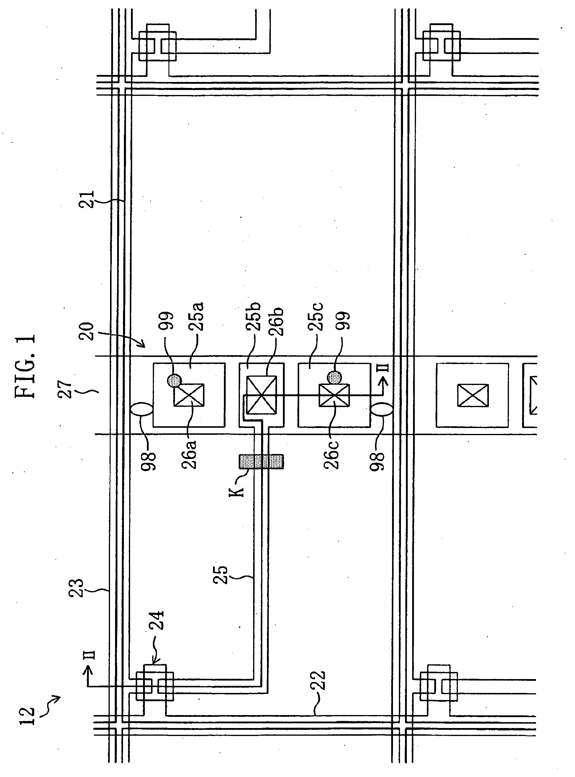
Active matrix substrate, method for manufacturing active matrix substrate, display, liquid crystal display and television system
授权日
2014-01-22
公开(公告)号
EP1837842B1
申请日
2005-12-14
公开(公告)日
2014-01-22
当前申请(专利权)人
SHARP KABUSHIKI KAISHA
发明人
ENDA, KENJI | YAGI, TOSHIFUMI | NODA, TOMOKI | TSUBATA, TOSHIHIDE | TAKEUCHI, MASANORI
简单同族
CN100481156C | CN101080756A | EP1837842A1 | EP1837842A4 | EP1837842B1 | EP2246836A1 | JP2008203889A | JP2008287290A | JP2009104179A | JP4245650B2 | JP4288303B2 | JP4484881B2 | JP4713646B2 | JPWO2006064832A1 | US20080002076A1 | US20090225247A1 | US20090268116A1 | US7714948 | US7768584 | US8089571 | WO2006064832A1
简单同族成员数量
21
简单同族被引用专利总数
91
诉讼案件数
0
法律状态/事件
授权
抱歉,您的浏览器不支持PDF预览,请点击链接下载PDF文件