专利数据库
统计分析
产业报告
专利数据监控
产业人才
行业动态
产业政策法规
维权援助
个人中心
详情
文本
图像
标题
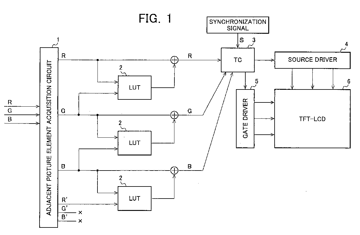
Crosstalk elimination circuit, liquid crystal display apparatus, and display control method
授权日
1900-01-01
公开(公告)号
EP1768095A1
申请日
2005-05-09
公开(公告)日
2007-03-28
当前申请(专利权)人
SHARP KABUSHIKI KAISHA
发明人
UENO, MASAFUMI | KONDO, NAOKO | FURUKAWA, HIROYUKI | YOSHIDA, YASUHIRO
简单同族
EP1768095A1 | EP1768095A4 | JP2006023710A | JP3792246B2 | TW200601256A | TWI312145B | US20070222724A1 | US7773049 | WO2005111979A1
简单同族成员数量
9
简单同族被引用专利总数
73
诉讼案件数
0
法律状态/事件
撤回
抱歉,您的浏览器不支持PDF预览,请点击链接下载PDF文件