专利数据库
统计分析
产业报告
专利数据监控
产业人才
行业动态
产业政策法规
维权援助
个人中心
详情
文本
图像
标题
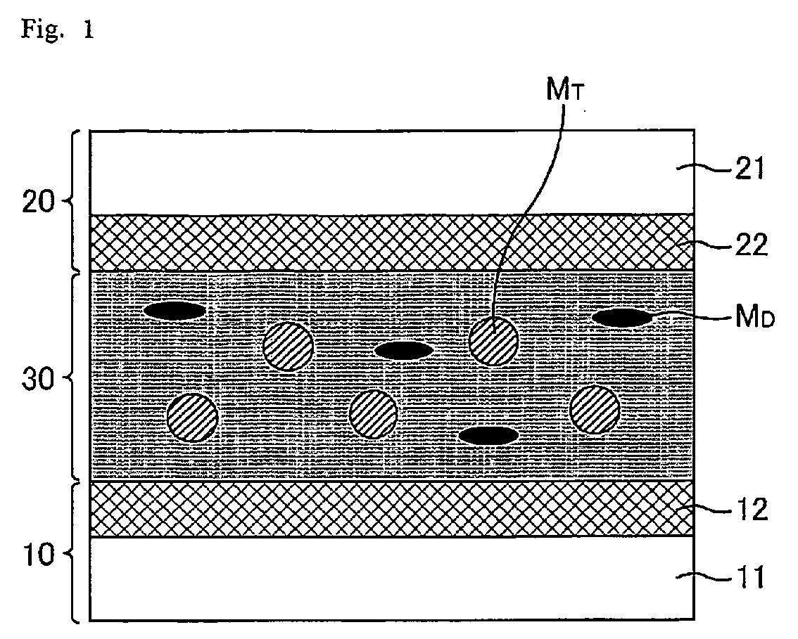
Liquid crystal display device, process for producing liquid crystal display device, composition for forming polymer layer, and composition for forming liquid crystal layer
授权日
1900-01-01
公开(公告)号
EP2416211A1
申请日
2009-10-08
公开(公告)日
2012-02-08
当前申请(专利权)人
SHARP KABUSHIKI KAISHA
发明人
MIZUSAKI,MASANOBU | KATAYAMA, TAKASHI | KAWAHIRA, YUICHI | NOMA, TAKESHI | NAKANISHI, YOHEI
简单同族
BRPI0924829A2 | CN102356350A | CN102356350B | EP2416211A1 | EP2416211A4 | EP2416211B1 | JP5237439B2 | JPWO2010116551A1 | RU2011143816A | US20120008079A1 | US8647724 | WO2010116551A1
简单同族成员数量
12
简单同族被引用专利总数
68
诉讼案件数
0
法律状态/事件
权利终止
抱歉,您的浏览器不支持PDF预览,请点击链接下载PDF文件