专利数据库
统计分析
产业报告
专利数据监控
产业人才
行业动态
产业政策法规
维权援助
个人中心
详情
文本
图像
标题
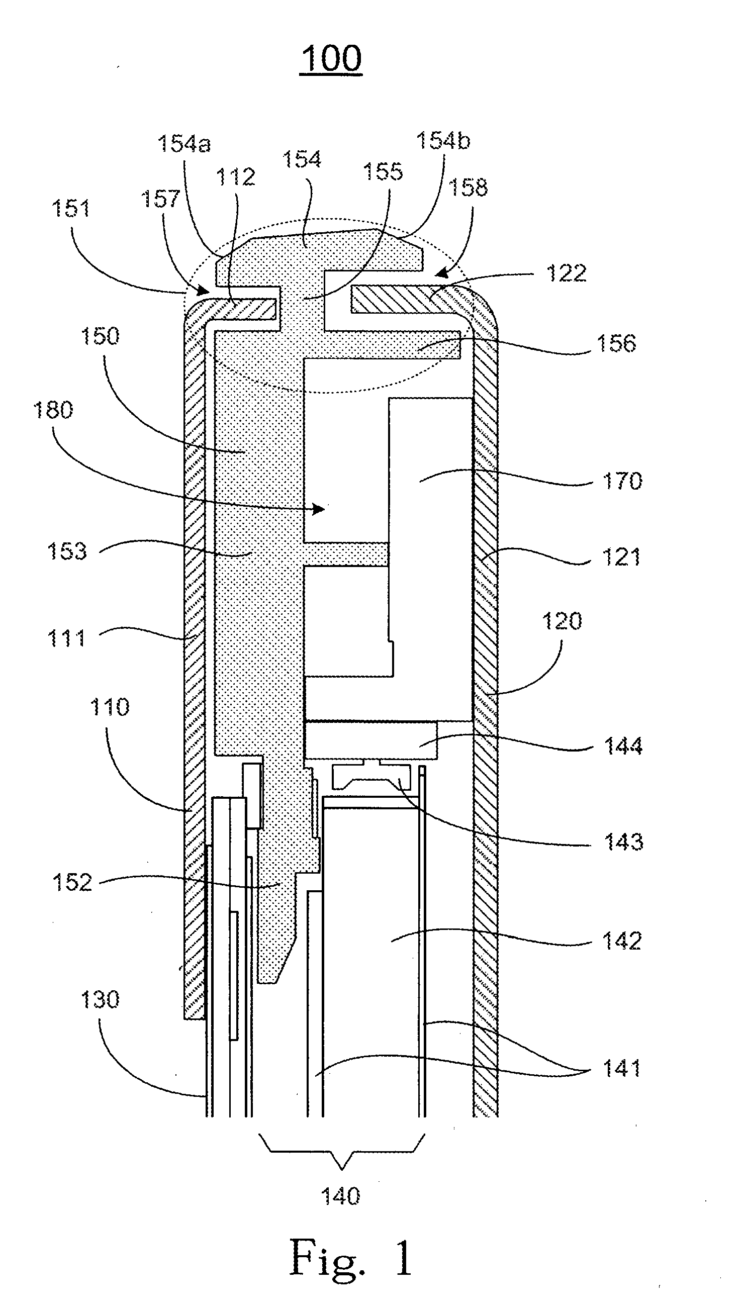
Liquid crystal display with backlight frame structure
授权日
2016-02-17
公开(公告)号
EP2453301B1
申请日
2011-02-22
公开(公告)日
2016-02-17
当前申请(专利权)人
AU OPTRONICS CORPORATION
发明人
WANG, CHUNG-MIN | CHANG, CHIA-HSIN | WANG, PING-FU | TSAI, CHIA-CHANG
简单同族
CN102162942A | CN102162942B | EP2453301A2 | EP2453301A3 | EP2453301B1 | EP2749937A2 | EP2749937A3 | EP2749937B1 | TW201219921A | TWI447488B | US20120113348A1 | US20130093977A1 | US8350983 | US8421951
简单同族成员数量
14
简单同族被引用专利总数
59
诉讼案件数
0
法律状态/事件
授权
抱歉,您的浏览器不支持PDF预览,请点击链接下载PDF文件