专利数据库
统计分析
产业报告
专利数据监控
产业人才
行业动态
产业政策法规
维权援助
个人中心
详情
文本
图像
标题
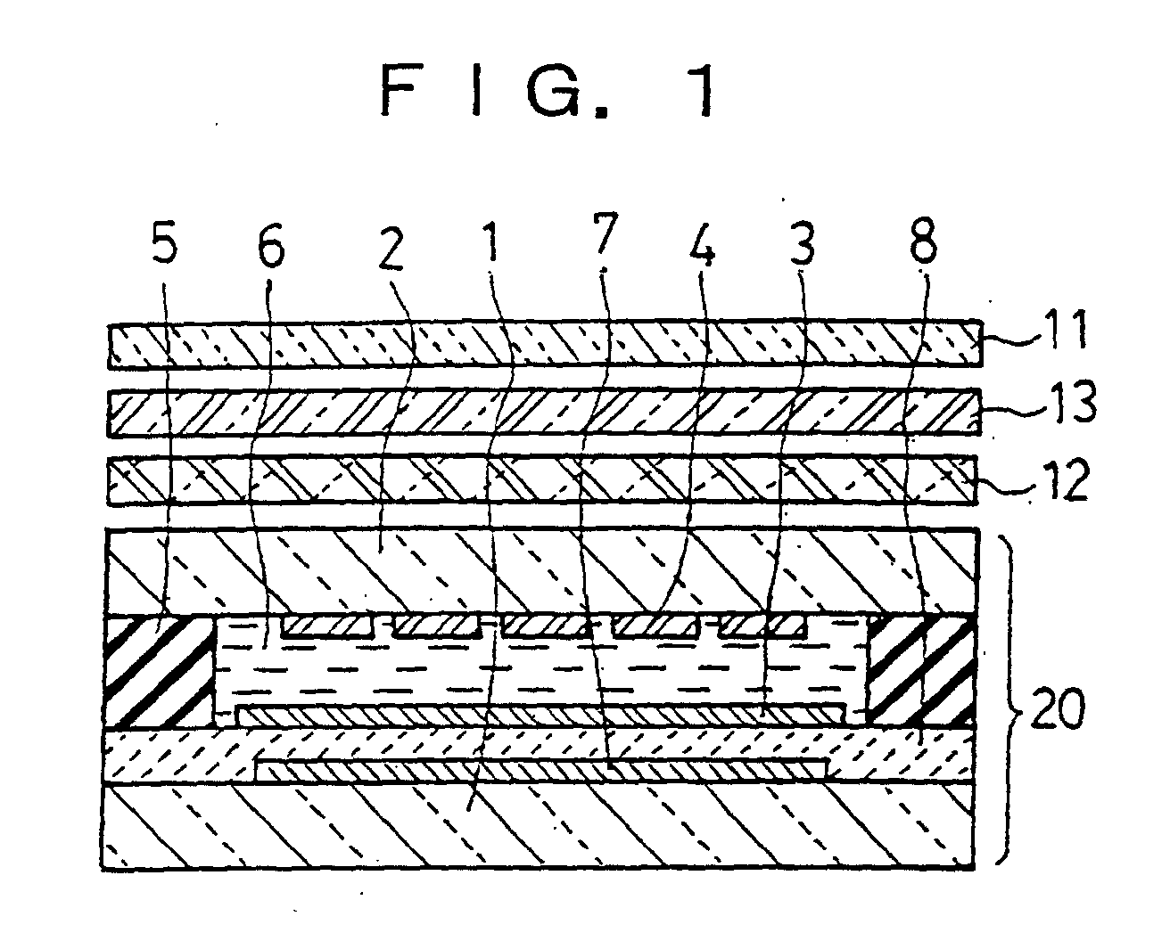
Liquid crystal display
授权日
1900-01-01
公开(公告)号
EP1111437A1
申请日
2000-06-07
公开(公告)日
2001-06-27
当前申请(专利权)人
CITIZEN WATCH CO. LTD.
发明人
KANEKO, YASUSHI, CITIZEN WATCH CO., LTD. | ARAI, MAKOTO, CITIZEN WATCH CO., LTD.
简单同族
DE60005775D1 | EP1111437A1 | EP1111437A4 | EP1111437B1 | JP3526453B2 | JPWO2000075718A1 | US6693692 | WO2000075718A1 | WO2000075718A8 | WO2001075718A8
简单同族成员数量
10
简单同族被引用专利总数
62
诉讼案件数
0
法律状态/事件
权利终止 | 权利转移
抱歉,您的浏览器不支持PDF预览,请点击链接下载PDF文件