专利数据库
统计分析
产业报告
专利数据监控
产业人才
行业动态
产业政策法规
维权援助
个人中心
详情
文本
图像
标题
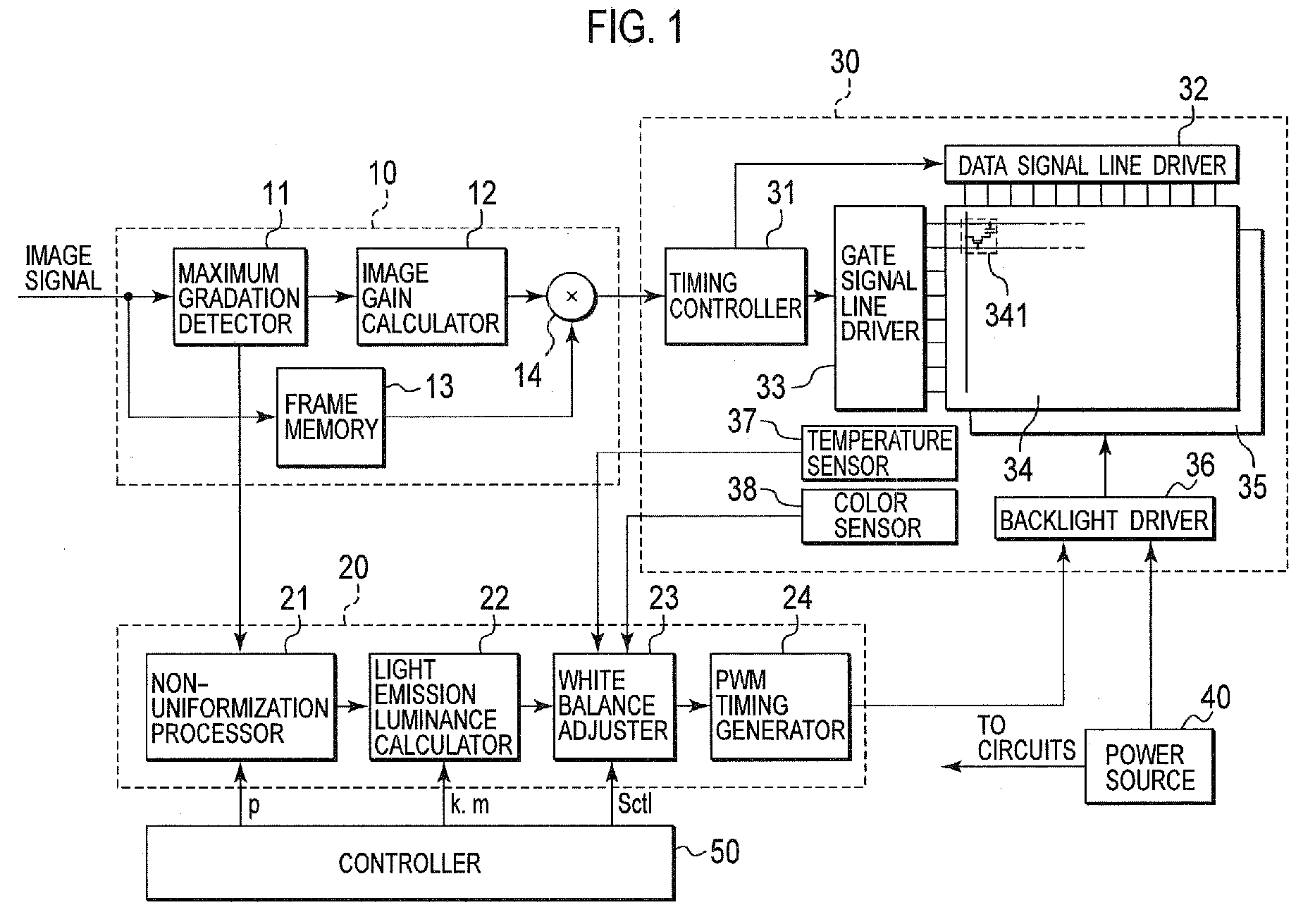
Liquid crystal display device and image display method thereof
授权日
1900-01-01
公开(公告)号
EP2154673A2
申请日
2009-04-30
公开(公告)日
2010-02-17
当前申请(专利权)人
VICTOR COMPANY OF JAPAN, LIMITED
发明人
TANAKA, NAOYUKI | OHSHIMA, YOSHINORI
简单同族
EP2154673A2 | EP2154673A3 | JP2010044180A | KR101016186B1 | KR1020100020413A | US20100039440A1
简单同族成员数量
6
简单同族被引用专利总数
53
诉讼案件数
0
法律状态/事件
撤回
抱歉,您的浏览器不支持PDF预览,请点击链接下载PDF文件