专利数据库
统计分析
产业报告
专利数据监控
产业人才
行业动态
产业政策法规
维权援助
个人中心
详情
文本
图像
标题
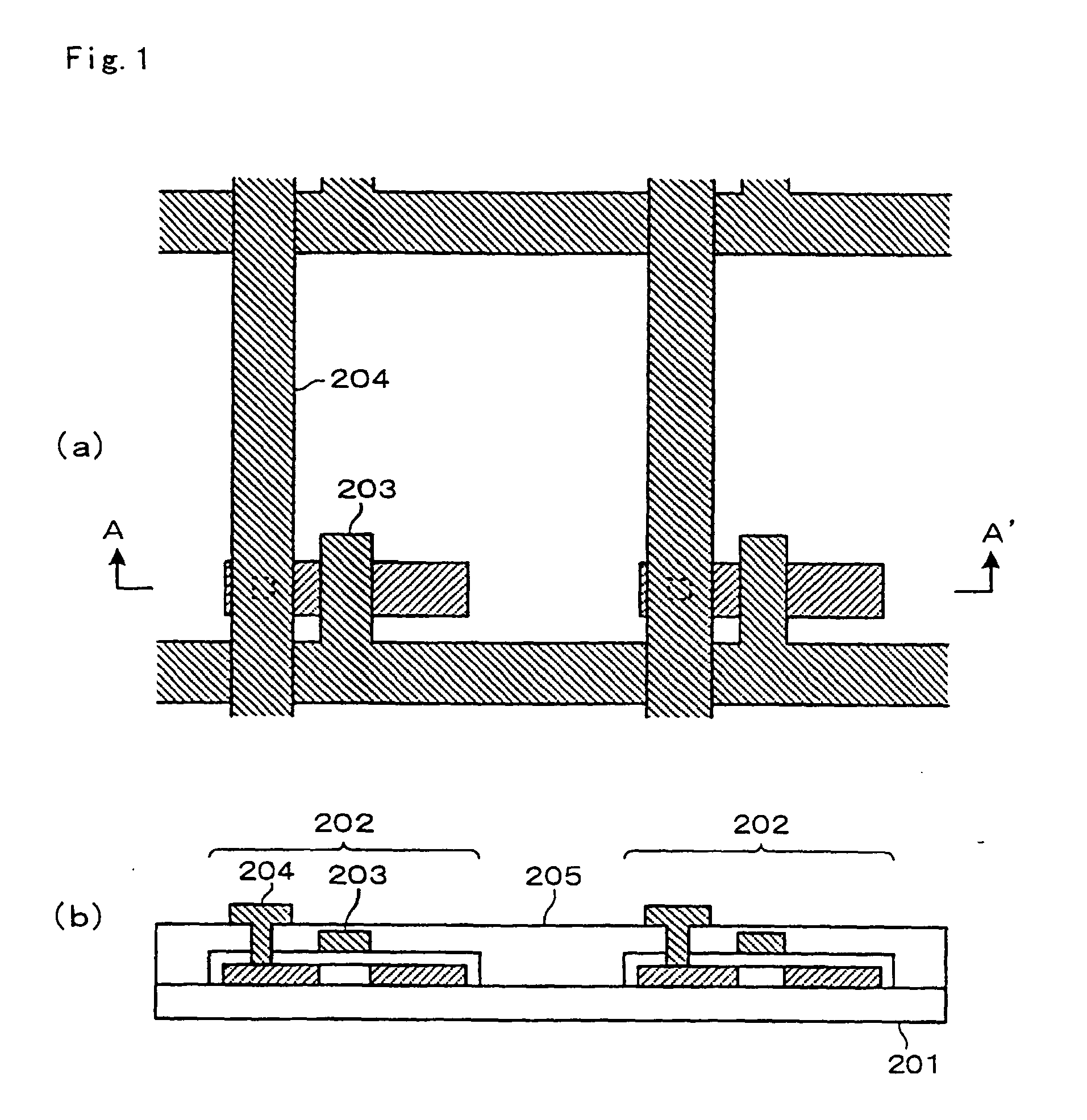
Methods of producing active matrix substrate and liquid crystal display device
授权日
2006-06-07
公开(公告)号
EP1331511B1
申请日
2001-10-17
公开(公告)日
2006-06-07
当前申请(专利权)人
SEIKO EPSON CORPORATION
发明人
KIGUCHI, HIROSHI, C/O SEIKO EPSON CORP. | KATAGAMI, SATORU, C/O SEIKO EPSON CORP | KAWASE, TOMOMI, C/O SEIKO EPSON CORP. | ARUGA, HISASHI, C/O SEIKO EPSON CORP. | SHIMIZU, MASAHARU, C/O SEIKO EPSON CORP.
简单同族
CN1173217C | CN1401094A | DE60120453D1 | DE60120453T2 | DE60132647D1 | DE60132647T2 | EP1331511A1 | EP1331511A4 | EP1331511B1 | EP1674924A2 | EP1674924A3 | EP1674924B1 | JP2002214425A | JP3972354B2 | KR100500817B1 | KR1020020077360A | TWI287682B | US20020060757A1 | US20040203180A1 | US6872586 | US7037737 | WO2002033482A1
简单同族成员数量
22
简单同族被引用专利总数
73
诉讼案件数
0
法律状态/事件
权利终止
抱歉,您的浏览器不支持PDF预览,请点击链接下载PDF文件