专利数据库
统计分析
产业报告
专利数据监控
产业人才
行业动态
产业政策法规
维权援助
个人中心
详情
文本
图像
标题
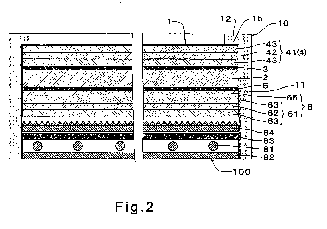
Liquid crystal panel and liquid crystal display apparatus
授权日
1900-01-01
公开(公告)号
EP2037317A1
申请日
2007-06-08
公开(公告)日
2009-03-18
当前申请(专利权)人
NITTO DENKO CORPORATION
发明人
SATAKE, MASAYUKI | TOYAMA, YUUSUKE | KINJOU, NAOTAKA | SHIMIZU, TAKASHI | YOSHIDA, KENTAROU
简单同族
CN101479652A | CN101479652B | EP2037317A1 | EP2037317A4 | EP2037317B1 | JP2008014988A | JP4986211B2 | KR101045722B1 | KR1020080106460A | TW200811504A | TWI370280B | US20090322994A1 | US8189149 | WO2008004403A1
简单同族成员数量
14
简单同族被引用专利总数
51
诉讼案件数
0
法律状态/事件
权利终止
抱歉,您的浏览器不支持PDF预览,请点击链接下载PDF文件