专利数据库
统计分析
产业报告
专利数据监控
产业人才
行业动态
产业政策法规
维权援助
个人中心
详情
文本
图像
标题
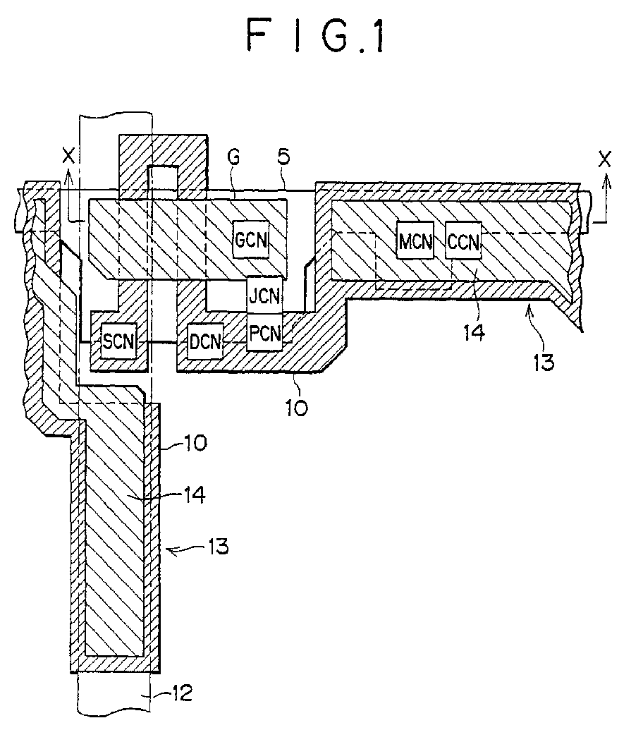
Thin film semiconductor device and liquid crystal display unit, and fabrication methods thereof
授权日
1900-01-01
公开(公告)号
EP1180716A2
申请日
2001-08-03
公开(公告)日
2002-02-20
当前申请(专利权)人
SONY CORPORATION
发明人
HASHIMOTO, MAKOTO, SONY CORPORATION | SATO, TAKUSEI, SONY CORPORATION
简单同族
CN1185530C | CN1338658A | EP1180716A2 | EP1180716A3 | EP1180716B1 | JP2002057341A | JP3918412B2 | KR100857039B1 | KR1020020013774A | TW544906B | US20020089616A1 | US6587165
简单同族成员数量
12
简单同族被引用专利总数
70
诉讼案件数
0
法律状态/事件
权利终止 | 权利转移
抱歉,您的浏览器不支持PDF预览,请点击链接下载PDF文件