专利数据库
统计分析
产业报告
专利数据监控
产业人才
行业动态
产业政策法规
维权援助
个人中心
详情
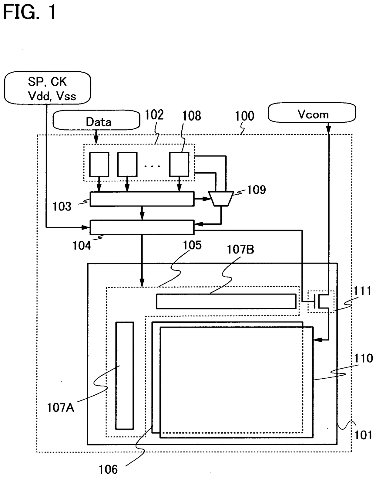
文本
图像
标题
Method for driving liquid crystal display device
授权日
2018-08-01
公开(公告)号
EP2513894B1
申请日
2010-11-22
公开(公告)日
2018-08-01
当前申请(专利权)人
SEMICONDUCTOR ENERGY LABORATORY CO., LTD.
发明人
KOYAMA, JUN | MIYAKE, HIROYUKI
简单同族
CN102656625A | CN102656625B | CN105390110A | CN105390110B | CN105957481A | CN105957481B | EP2513894A1 | EP2513894A4 | EP2513894B1 | JP2011145666A | JP2011145666A5 | JP2012256052A | JP2012256052A5 | JP2013137565A | JP2014142656A | JP2015092255A | JP2016191920A | JP2016191920A5 | JP2018081313A | JP5031086B2 | JP5211255B2 | KR101300963B1 | KR101761957B1 | KR101763508B1 | KR101822353B1 | KR101871654B1 | KR1020120105481A | KR1020130063035A | KR1020150135540A | KR1020170089948A | KR1020180010319A | KR1020180072852A | KR1020200006636A | KR102067919B1 | TW201133461A | TW201543464A | TW201633284A | TW201706980A | TW201832210A | TWI505253B | TWI549114B | TWI570701B | TWI619109B | TWI650747B | US20110148826A1 | US20140078132A1 | US20150154925A1 | US20160140921A1 | US20170352318A1 | US8599177 | US8922537 | US9251748 | US9898979 | WO2011074393A1
简单同族成员数量
54
简单同族被引用专利总数
122
诉讼案件数
0
法律状态/事件
授权 | 权利转移
抱歉,您的浏览器不支持PDF预览,请点击链接下载PDF文件