专利数据库
统计分析
产业报告
专利数据监控
产业人才
行业动态
产业政策法规
维权援助
个人中心
详情
文本
图像
标题
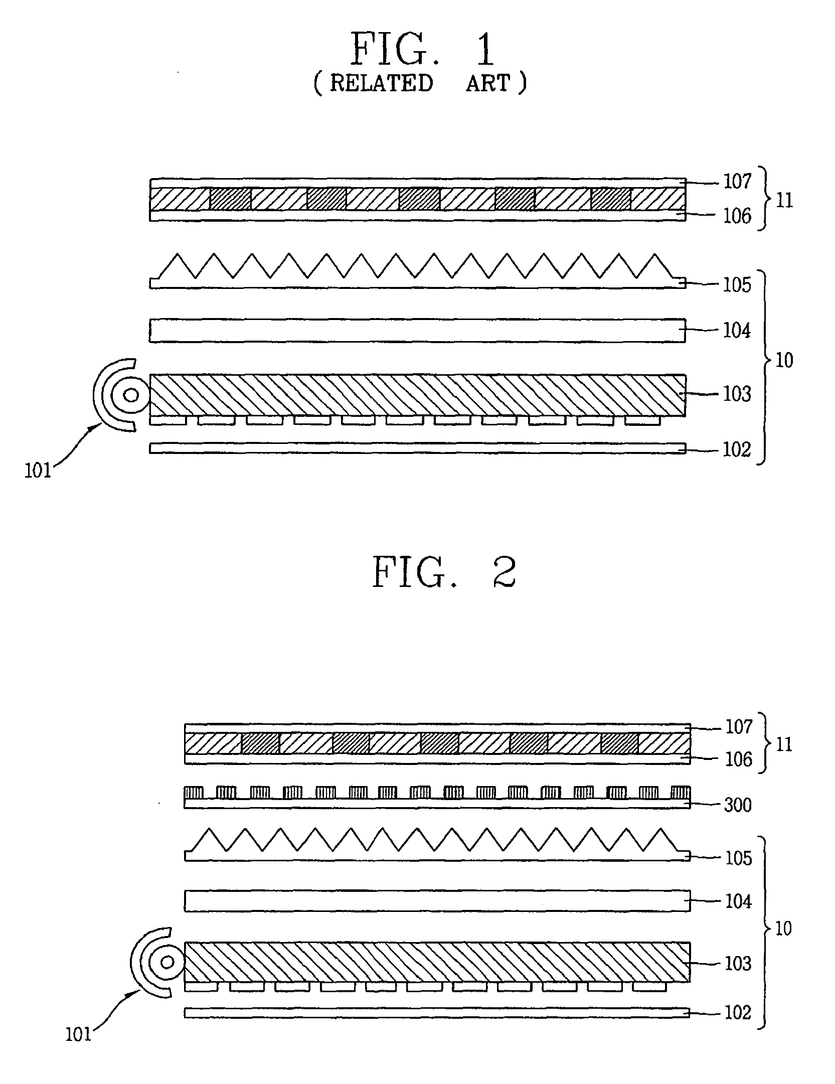
Liquid crystal display device and fabrication method thereof
授权日
1900-01-01
公开(公告)号
EP1655634A1
申请日
2005-11-09
公开(公告)日
2006-05-10
当前申请(专利权)人
LG ELECTRONICS INC.
发明人
LEE, KI-DONG
简单同族
EP1655634A1 | JP2006139283A | KR1020060042481A | US20060098140A1
简单同族成员数量
4
简单同族被引用专利总数
62
诉讼案件数
0
法律状态/事件
撤回
抱歉,您的浏览器不支持PDF预览,请点击链接下载PDF文件