专利数据库
统计分析
产业报告
专利数据监控
产业人才
行业动态
产业政策法规
维权援助
个人中心
详情
文本
图像
标题
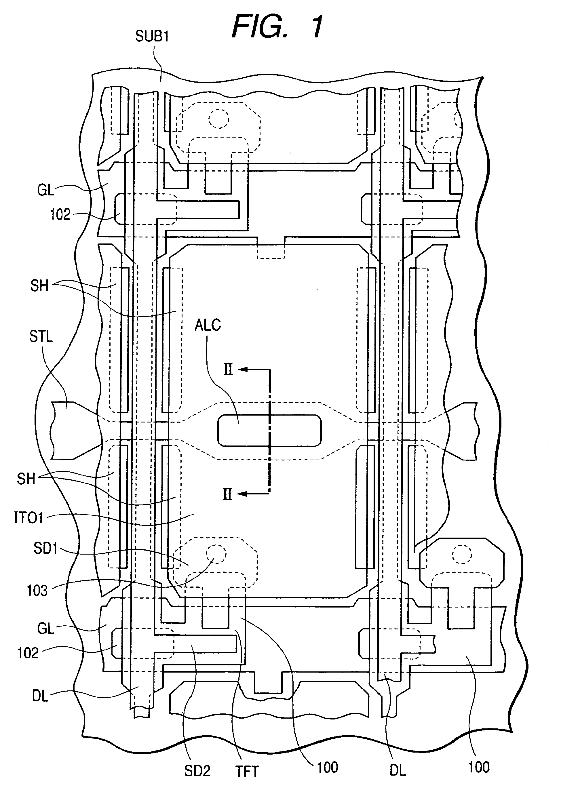
Liquid crystal display element having controlled storage capacitance
授权日
2006-06-14
公开(公告)号
EP1136873B1
申请日
2001-03-06
公开(公告)日
2006-06-14
当前申请(专利权)人
HITACHI, LTD.
发明人
OOTSU, RYOUICHI, HITACHI LTD., INTELL.PROP.GROUP | OHGIICHI, KIMITOSHI, HITACHI LTD.INTELL.PROP.GROUP
简单同族
CN1143169C | CN1317711A | EP1136873A2 | EP1136873A3 | EP1136873B1 | KR100356877B1 | KR1020010087345A | TW514762B | US20010019372A1 | US6583829
简单同族成员数量
10
简单同族被引用专利总数
65
诉讼案件数
0
法律状态/事件
权利终止 | 权利转移
抱歉,您的浏览器不支持PDF预览,请点击链接下载PDF文件