专利数据库
统计分析
产业报告
专利数据监控
产业人才
行业动态
产业政策法规
维权援助
个人中心
详情
文本
图像
标题
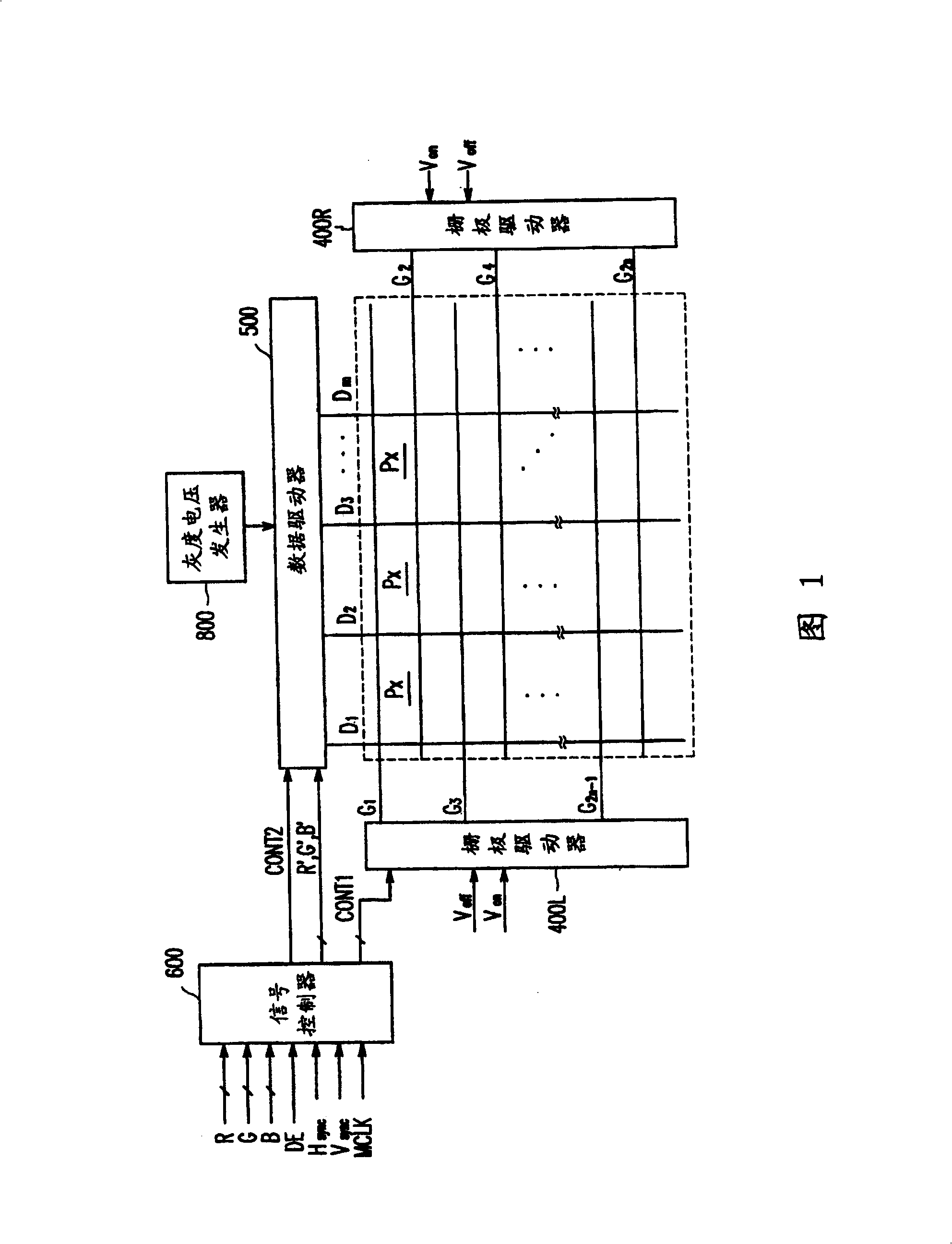
显示驱动装置和方法及具有该装置的液晶显示设备
授权日
2008-12-17
公开(公告)号
CN100443960C
申请日
2004-06-23
公开(公告)日
2008-12-17
当前申请(专利权)人
三星显示有限公司
发明人
文胜焕
简单同族
CN100443960C | CN1573459A | EP1492078A2 | EP1492078A3 | JP2005018066A | KR100945581B1 | KR1020050000105A | TW200509052A | TWI277938B | US20040257322A1 | US20080204390A1 | US20130215097A1 | US7385576 | US8274460
简单同族成员数量
14
简单同族被引用专利总数
171
诉讼案件数
0
法律状态/事件
授权 | 权利转移
抱歉,您的浏览器不支持PDF预览,请点击链接下载PDF文件