专利数据库
统计分析
产业报告
专利数据监控
产业人才
行业动态
产业政策法规
维权援助
个人中心
详情
文本
图像
标题
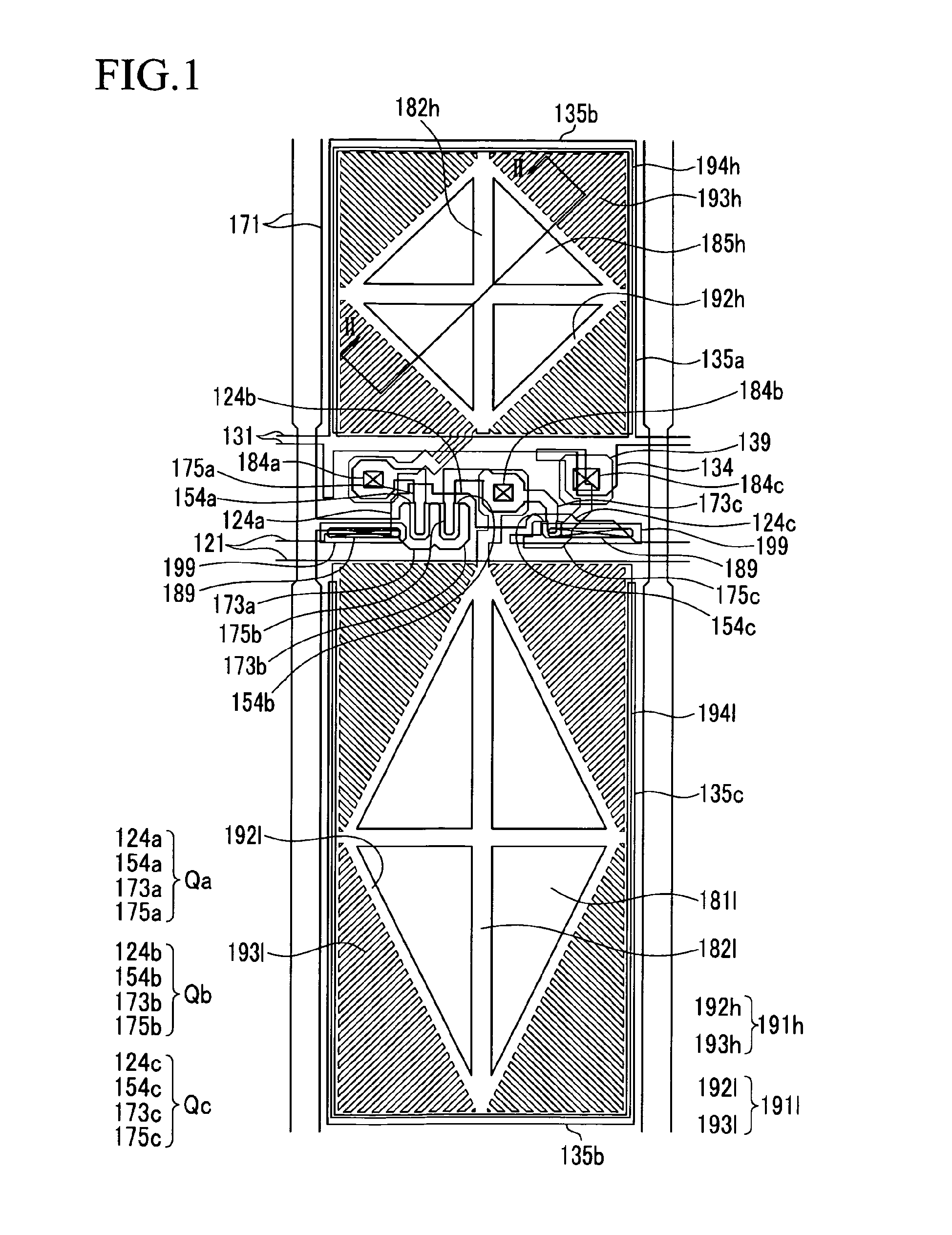
Liquid crystal display device
授权日
2015-11-04
公开(公告)号
EP2639634B1
申请日
2012-09-28
公开(公告)日
2015-11-04
当前申请(专利权)人
SAMSUNG DISPLAY CO., LTD.
发明人
CHANG, HAK SUN | PARK, EUN KIL | KANG, HYUN HO | RYU, JANG WI | YANG, SEUNG-SUK | SHIN, KI CHUL | LEE, SE HYUN | JANG, JAE-SOO | JUNG, HYO JU
简单同族
CN103309071A | CN103309071B | EP2639634A1 | EP2639634B1 | JP2013190771A | JP6338319B2 | US10345655 | US10551691 | US20130242239A1 | US20160202572A1 | US20190265559A1 | US20200124926A1 | US9274377
简单同族成员数量
13
简单同族被引用专利总数
57
诉讼案件数
0
法律状态/事件
授权 | 权利转移
抱歉,您的浏览器不支持PDF预览,请点击链接下载PDF文件