专利数据库
统计分析
产业报告
专利数据监控
产业人才
行业动态
产业政策法规
维权援助
个人中心
详情
文本
图像
标题
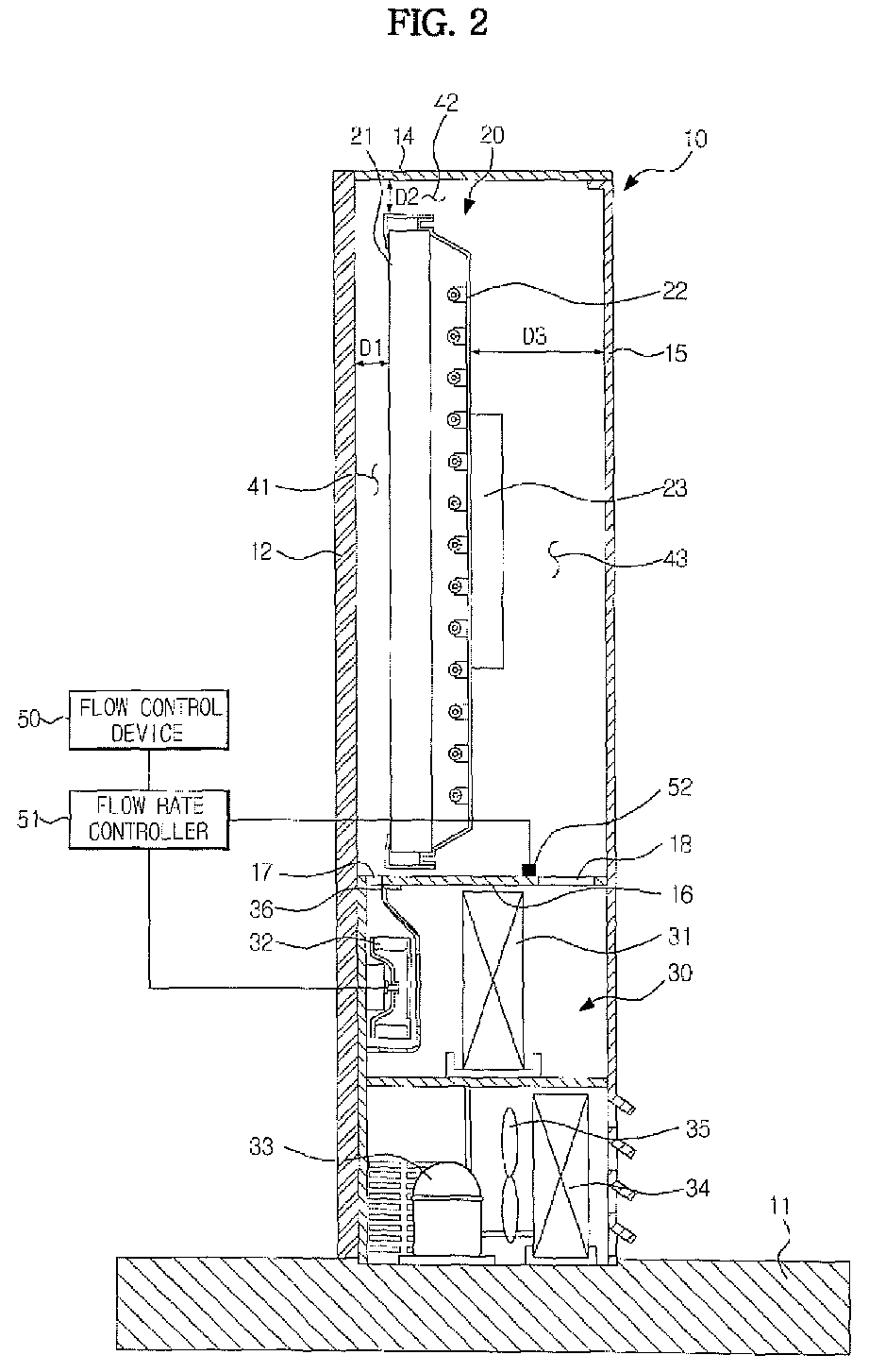
Liquid crystal display device with means for cooling the display panel
授权日
1900-01-01
公开(公告)号
EP2133735A2
申请日
2009-06-09
公开(公告)日
2009-12-16
当前申请(专利权)人
SAMSUNG ELECTRONICS CO., LTD.
发明人
KIM, JIN SUB | CHO, JIN HYUN | KIM, SUNG KI | KANG, JOON
简单同族
CN101604084A | CN101604084B | EP2133735A2 | EP2133735A3 | EP2133735B1 | KR101564278B1 | KR1020090129654A | US20090310059A1 | US20120257158A1 | US20130176517A1 | US8223311 | US8411227 | US8842253
简单同族成员数量
13
简单同族被引用专利总数
74
诉讼案件数
0
法律状态/事件
授权 | 权利转移
抱歉,您的浏览器不支持PDF预览,请点击链接下载PDF文件