专利数据库
统计分析
产业报告
专利数据监控
产业人才
行业动态
产业政策法规
维权援助
个人中心
详情
文本
图像
标题
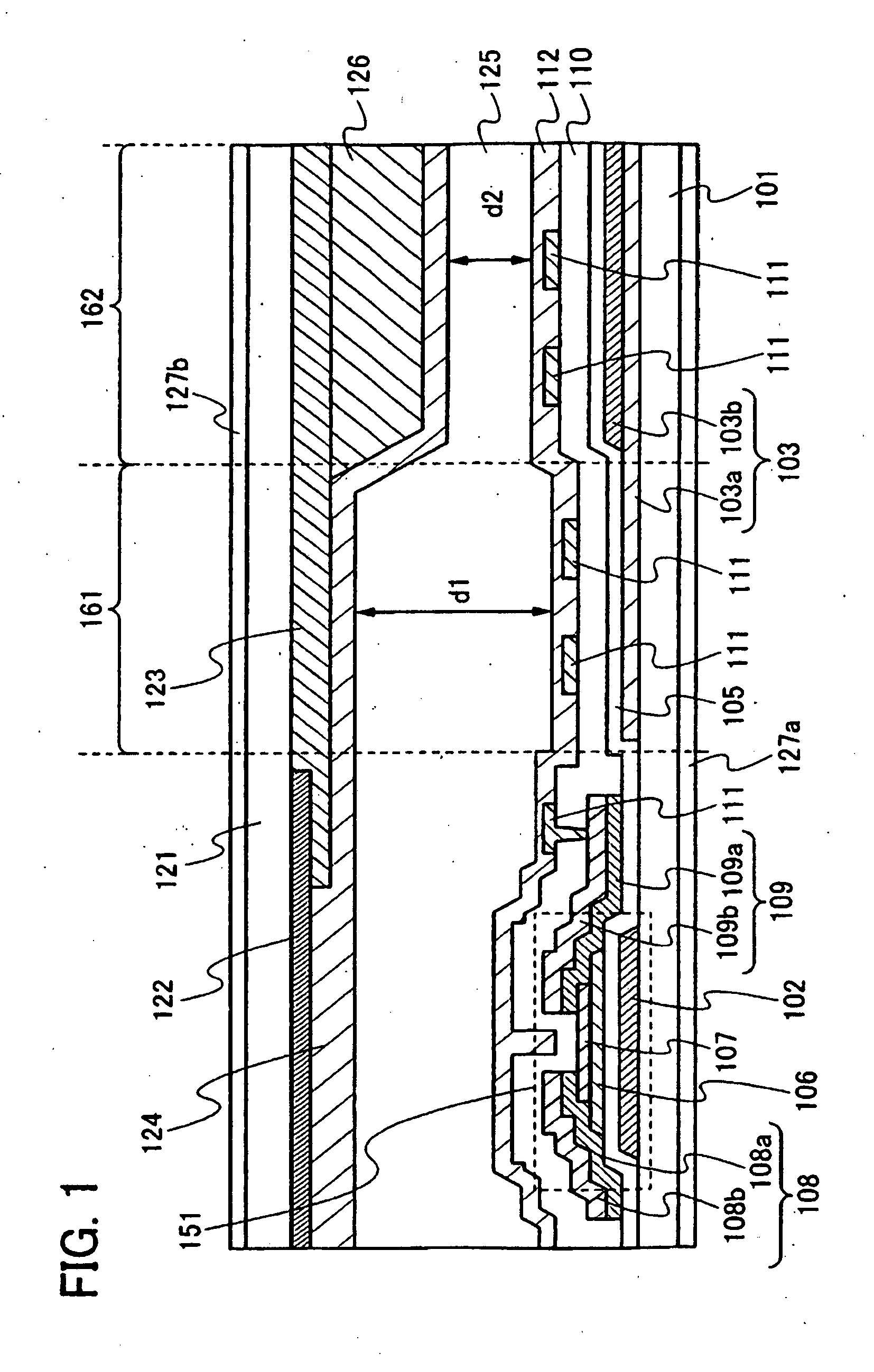
Liquid crystal display device
授权日
2015-07-15
公开(公告)号
EP2479604B1
申请日
2006-11-29
公开(公告)日
2015-07-15
当前申请(专利权)人
SEMICONDUCTOR ENERGY LABORATORY CO., LTD.
发明人
KIMURA, HAJIME | UOCHI, HIDEKI
简单同族
CN101322066A | CN101322066B | CN102116974A | CN102116974B | CN102331638A | CN102331638B | CN102331639A | CN102360142A | CN102360142B | EP1958019A1 | EP1958019A4 | EP1958019B1 | EP2479604A2 | EP2479604A3 | EP2479604B1 | EP2479605A2 | EP2479605A3 | EP2479605B1 | JP2010237716A | JP5005076B2 | TW200732750A | TW201133074A | TW201530223A | TW201530224A | TW201727326A | TWI420193B | TWI579615B | TWI579616B | TWI604247B | TWI611242B | US10203571 | US20070146591A1 | US20100245749A1 | US20110121307A1 | US20110285931A1 | US20130300969A1 | US20140184976A1 | US20150153602A1 | US20160349579A1 | US20180081247A1 | US7880836 | US7889295 | US7999892 | US8508700 | US8675158 | US9128336 | US9417492 | US9835912 | WO2007066677A1
简单同族成员数量
49
简单同族被引用专利总数
208
诉讼案件数
0
法律状态/事件
授权
抱歉,您的浏览器不支持PDF预览,请点击链接下载PDF文件