专利数据库
统计分析
产业报告
专利数据监控
产业人才
行业动态
产业政策法规
维权援助
个人中心
详情
文本
图像
标题
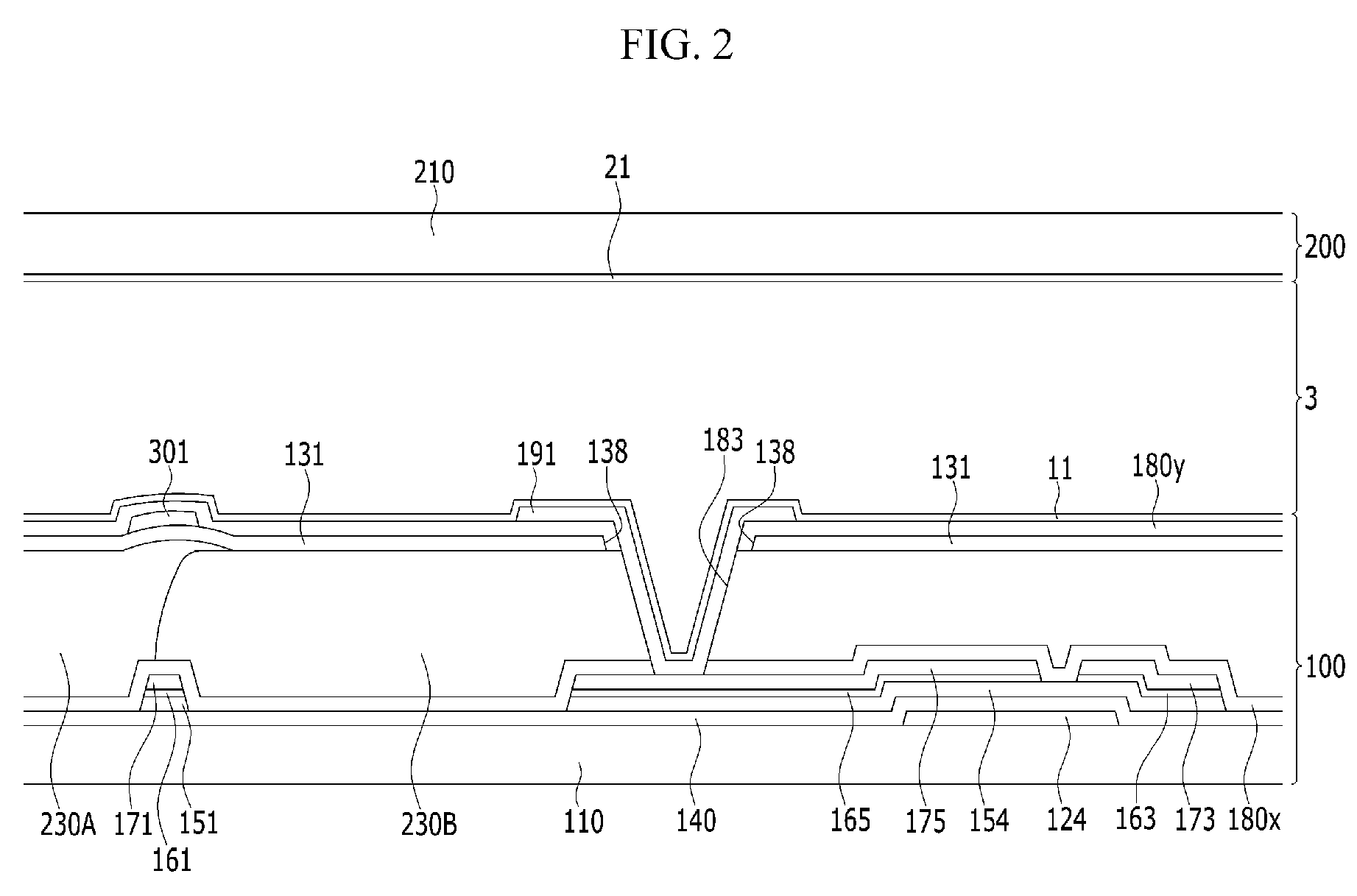
Active matrix liquid crystal display
授权日
1900-01-01
公开(公告)号
EP2573617A1
申请日
2012-09-24
公开(公告)日
2013-03-27
当前申请(专利权)人
SAMSUNG DISPLAY CO., LTD.
发明人
KIM, SUNG HOON | YEOM, JOO SEOK | RYU, KYU WAN | CHOI, JEONG SOO
简单同族
CN103018983A | CN108319087A | EP2573617A1 | EP2573617B1 | JP2013068949A | JP2018041114A | JP6310633B2 | JP6605014B2 | KR1020130032743A | US10365524 | US20130077008A1 | US20180059495A1 | US9835915
简单同族成员数量
13
简单同族被引用专利总数
68
诉讼案件数
0
法律状态/事件
授权 | 权利转移
抱歉,您的浏览器不支持PDF预览,请点击链接下载PDF文件