专利数据库
统计分析
产业报告
专利数据监控
产业人才
行业动态
产业政策法规
维权援助
个人中心
详情
文本
图像
标题
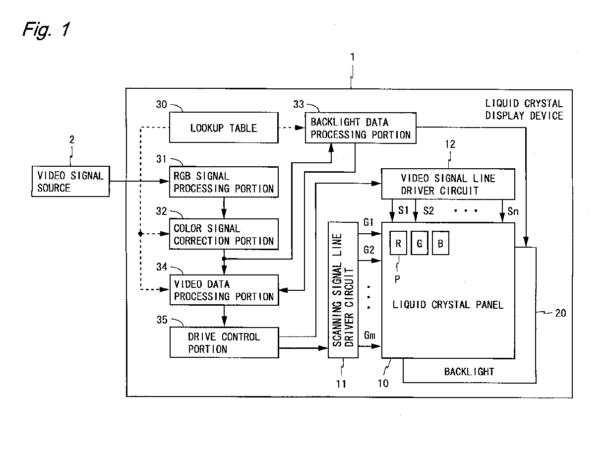
Liquid crystal display device
授权日
1900-01-01
公开(公告)号
EP2207059A1
申请日
2008-10-09
公开(公告)日
2010-07-14
当前申请(专利权)人
SHARP KABUSHIKI KAISHA
发明人
MUROI, TAKAO
简单同族
BRPI0820651A2 | CN101910916A | CN101910916B | EP2207059A1 | EP2207059A4 | JPWO2009110129A1 | RU2442202C1 | US20100253711A1 | WO2009110129A1
简单同族成员数量
9
简单同族被引用专利总数
57
诉讼案件数
0
法律状态/事件
撤回
抱歉,您的浏览器不支持PDF预览,请点击链接下载PDF文件