专利数据库
统计分析
产业报告
专利数据监控
产业人才
行业动态
产业政策法规
维权援助
个人中心
详情
文本
图像
标题
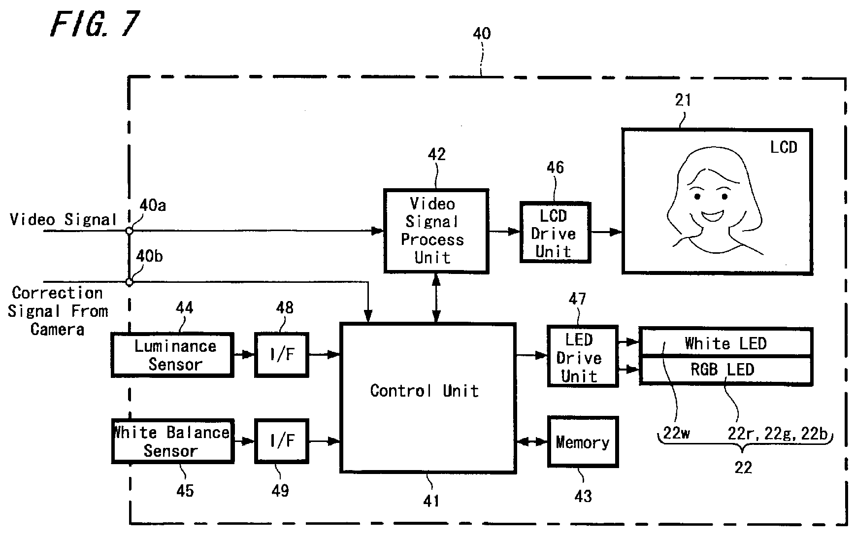
Liquid-crystal display apparatus and electronic device
授权日
1900-01-01
公开(公告)号
EP1722352A1
申请日
2006-05-11
公开(公告)日
2006-11-15
当前申请(专利权)人
SONY CORPORATION
发明人
NAKANO, MINORU, C/O SONY CORPORATION | SAIKI, KUNIHITO , C/O SONY CORPORATION
简单同族
EP1722352A1 | JP2006343716A | JP4016213B2 | KR1020060116719A | TW200643869A | US20060256257A1 | US7333165
简单同族成员数量
7
简单同族被引用专利总数
85
诉讼案件数
0
法律状态/事件
撤回
抱歉,您的浏览器不支持PDF预览,请点击链接下载PDF文件