专利数据库
统计分析
产业报告
专利数据监控
产业人才
行业动态
产业政策法规
维权援助
个人中心
详情
文本
图像
标题
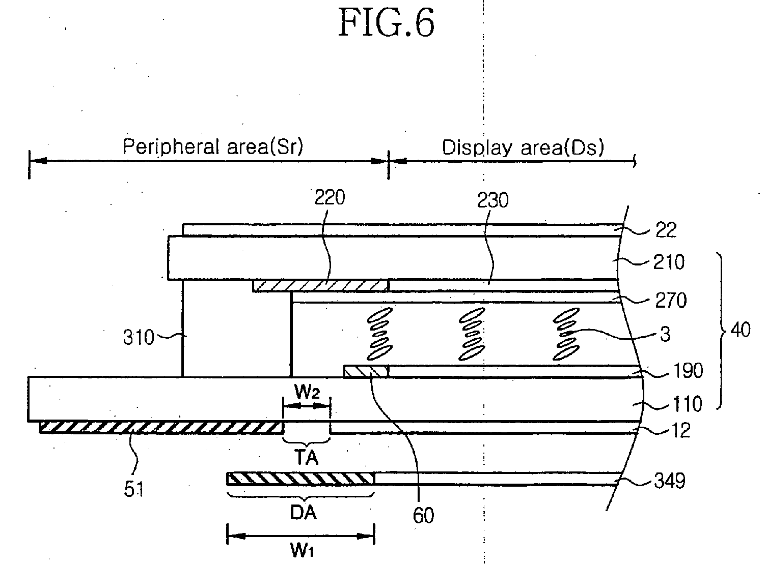
Liquid crystal display and manufacturing method thereof
授权日
1900-01-01
公开(公告)号
EP1426811A2
申请日
2003-11-27
公开(公告)日
2004-06-09
当前申请(专利权)人
SAMSUNG DISPLAY CO., LTD.
发明人
NAM, HYO-HAK | KIM, DONG-GYU | LEE, DONG-WON | KANG, JUNG-TAE
简单同族
CN100465717C | CN1523427A | EP1426811A2 | EP1426811A3 | EP1426811B1 | JP2004310038A | JP2010097224A | JP4849769B2 | TW200428099A | TWI337275B | US20040135941A1 | US7436473
简单同族成员数量
12
简单同族被引用专利总数
118
诉讼案件数
0
法律状态/事件
授权 | 权利转移
抱歉,您的浏览器不支持PDF预览,请点击链接下载PDF文件