专利数据库
统计分析
产业报告
专利数据监控
产业人才
行业动态
产业政策法规
维权援助
个人中心
详情
文本
图像
标题
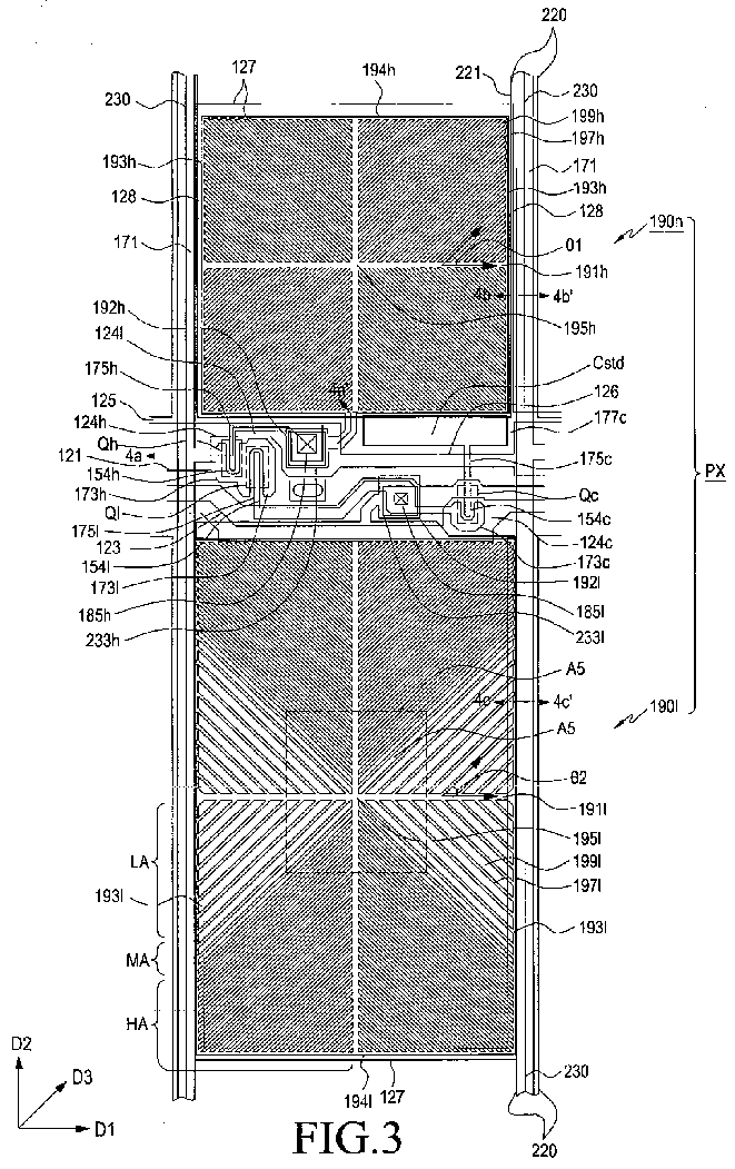
Liquid crystal display panel
授权日
1900-01-01
公开(公告)号
EP2375279A2
申请日
2011-03-21
公开(公告)日
2011-10-12
当前申请(专利权)人
SAMSUNG DISPLAY CO., LTD.
发明人
CHOI, KYONG-SIK | PARK, MYUNG-JAE | PARK, MIN-WOOK | KIM, SUNG-HOON | LEE, GAK-SEOK | SHIN, WOO-JUNG | LEE, JUN-HYUP | OH, KEUN-CHAN | KIM, SANG-GYUN | KIM, SU-JEONG | PARK, SEUNG-BEOM | JEONG, YOUN-HAK
简单同族
CN102213872A | CN102213872B | EP2372442A2 | EP2372442A3 | EP2375279A2 | EP2375279A3 | US20110242443A1 | US20110242468A1 | US9057917 | US9081237
简单同族成员数量
10
简单同族被引用专利总数
182
诉讼案件数
0
法律状态/事件
撤回 | 权利转移
抱歉,您的浏览器不支持PDF预览,请点击链接下载PDF文件