专利数据库
统计分析
产业报告
专利数据监控
产业人才
行业动态
产业政策法规
维权援助
个人中心
详情
文本
图像
标题
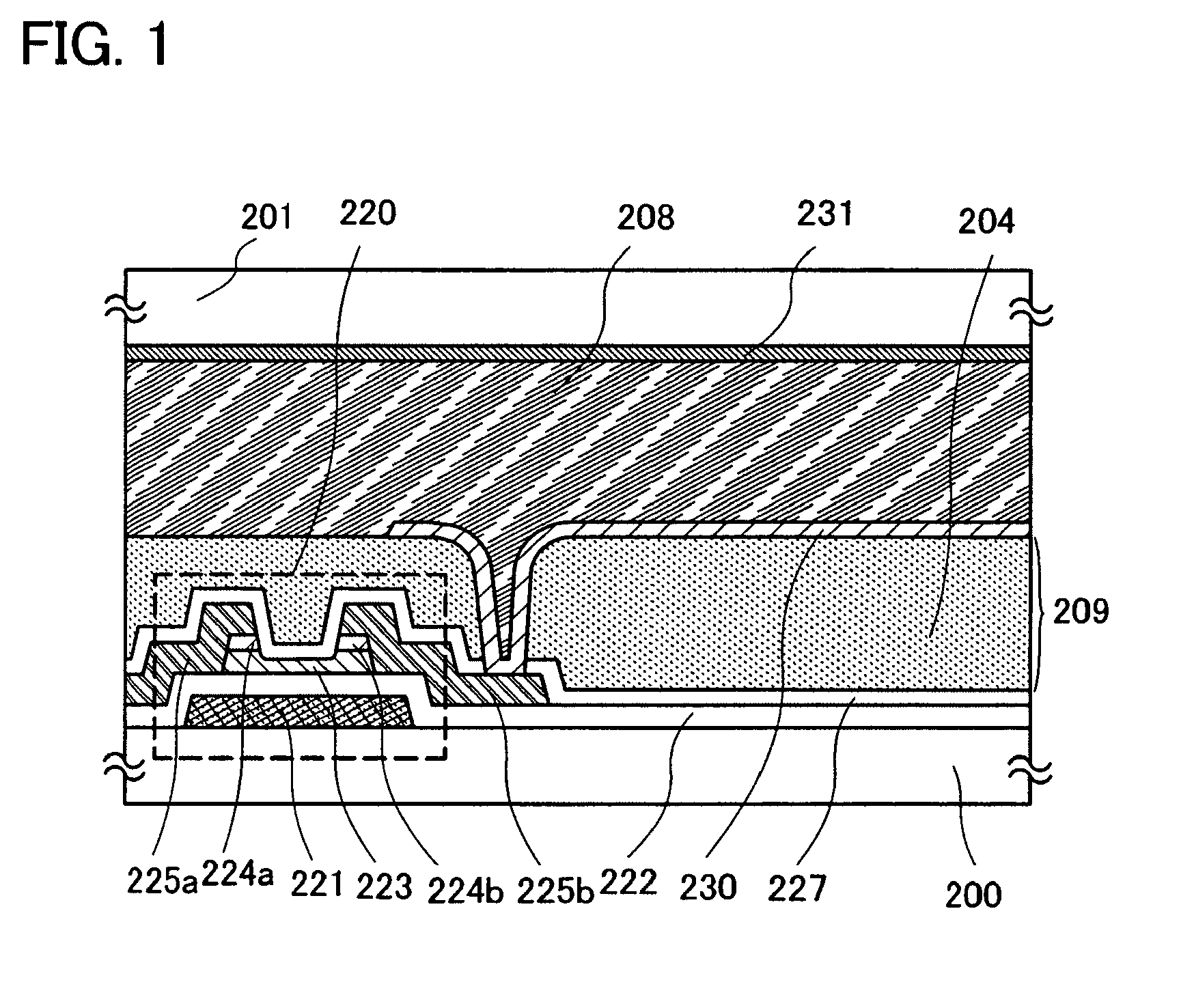
Liquid crystal display device
授权日
2013-11-06
公开(公告)号
EP2192437B1
申请日
2009-11-26
公开(公告)日
2013-11-06
当前申请(专利权)人
SEMICONDUCTOR ENERGY LABORATORY CO., LTD.
发明人
ISHITANI, TETSUJI | KUBOTA, DAISUKE
简单同族
CN101750820A | CN106066552A | EP2192437A1 | EP2192437B1 | JP2010152348A | JP2010152348A5 | JP2014095910A | JP2015111291A | JP2017083893A | JP2019049703A | JP2019148814A | JP2019148814A5 | JP2020042300A | JP6517990B2 | KR1020100061366A | KR1020140135142A | KR1020160095655A | KR1020170029476A | KR1020180064357A | KR1020190016995A | KR1020200015673A | TW201037406A | TW201520663A | TW201719255A | TW201732402A | TW201818535A | TW201929213A | TWI483038B | TWI571684B | TWI595297B | TWI616707B | TWI654754B | US10008608 | US10424674 | US20100134397A1 | US20130242223A1 | US20180019345A1 | US20190237583A1 | US8441425
简单同族成员数量
39
简单同族被引用专利总数
66
诉讼案件数
0
法律状态/事件
授权
抱歉,您的浏览器不支持PDF预览,请点击链接下载PDF文件