专利数据库
统计分析
产业报告
专利数据监控
产业人才
行业动态
产业政策法规
维权援助
个人中心
详情
文本
图像
标题
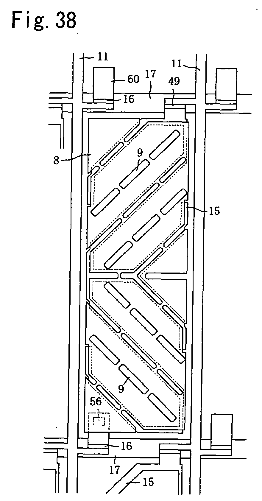
Color active matrix type vertically aligned mode liquid cristal display and driving method thereof
授权日
1900-01-01
公开(公告)号
EP1398658A1
申请日
2003-09-10
公开(公告)日
2004-03-17
当前申请(专利权)人
OBAYASHISEIKOU CO., LTD.
发明人
HIROTA, NAOTO
简单同族
CN100334496C | CN1495492A | EP1398658A1 | EP1398658B1 | HK1065117A | HK1065117A1 | KR100529049B1 | KR1020040023535A | TW200404181A | TWI278696B | US20040046914A1 | US20090091526A1 | US7791698 | US8107045
简单同族成员数量
14
简单同族被引用专利总数
123
诉讼案件数
0
法律状态/事件
授权
抱歉,您的浏览器不支持PDF预览,请点击链接下载PDF文件