专利数据库
统计分析
产业报告
专利数据监控
产业人才
行业动态
产业政策法规
维权援助
个人中心
详情
文本
图像
标题
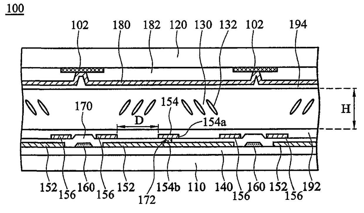
液晶显示器装置
授权日
2012-06-27
公开(公告)号
CN101706620B
申请日
2007-10-23
公开(公告)日
2012-06-27
当前申请(专利权)人
友达光电股份有限公司
发明人
李锡烈
简单同族
CN100573291C | CN101144952A | CN101706620A | CN101706620B | TW200844614A | TW200942930A | TWI361325B | TWI374320B | US20080266480A1 | US7940359
简单同族成员数量
10
简单同族被引用专利总数
53
诉讼案件数
0
法律状态/事件
授权
抱歉,您的浏览器不支持PDF预览,请点击链接下载PDF文件