专利数据库
统计分析
产业报告
专利数据监控
产业人才
行业动态
产业政策法规
维权援助
个人中心
详情
文本
图像
标题
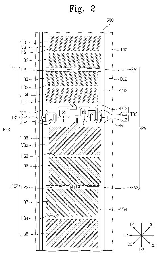
Liquid crystal display
授权日
1900-01-01
公开(公告)号
EP2833200A1
申请日
2014-07-30
公开(公告)日
2015-02-04
当前申请(专利权)人
SAMSUNG DISPLAY CO., LTD.
发明人
IM, WAN-SOON | PARK, MINWOOK | WOO, SUWAN | PARK, EUN KIL | SON, JEONGMAN | TAE, CHANGIL | PARK, KEE-BUM | KIM, KYUNG-BAE | PARK, JE HYEONG | PARK, JOOHWAN | SEO, YU DEOK | YANG, SEUNGHO | OH, SEJOON | LEE, HEEHWAN
简单同族
CN104345500A | CN104345500B | CN110850645A | CN110850646A | CN110941121A | EP2833200A1 | EP2833200B1 | JP2015031961A | JP6448245B2 | US10712596 | US20150036073A1
简单同族成员数量
11
简单同族被引用专利总数
122
诉讼案件数
0
法律状态/事件
授权 | 权利转移
抱歉,您的浏览器不支持PDF预览,请点击链接下载PDF文件