专利数据库
统计分析
产业报告
专利数据监控
产业人才
行业动态
产业政策法规
维权援助
个人中心
详情
文本
图像
标题
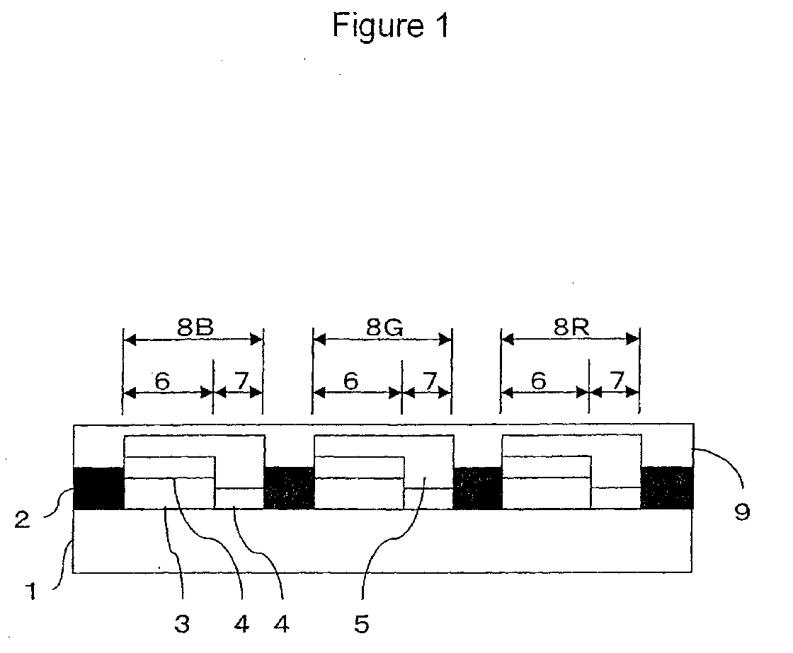
Color filter for a liquid crystal display device and method for making such a color filter
授权日
1900-01-01
公开(公告)号
EP1324108A3
申请日
2002-12-20
公开(公告)日
2003-09-17
当前申请(专利权)人
TORAY INDUSTRIES, INC.
发明人
NONAKA, HARUSHI | YAMASHITA, TETSUO | GOTO, TETSUYA
简单同族
AT320021T | CN1428639A | DE60209665D1 | DE60209665T2 | EP1324108A2 | EP1324108A3 | EP1324108B1 | KR1020030057345A | SG102064A1 | TW200301372A | TWI261688B | US20030179327A1 | US6893781
简单同族成员数量
13
简单同族被引用专利总数
74
诉讼案件数
0
法律状态/事件
权利终止
抱歉,您的浏览器不支持PDF预览,请点击链接下载PDF文件