专利数据库
统计分析
产业报告
专利数据监控
产业人才
行业动态
产业政策法规
维权援助
个人中心
详情
文本
图像
标题
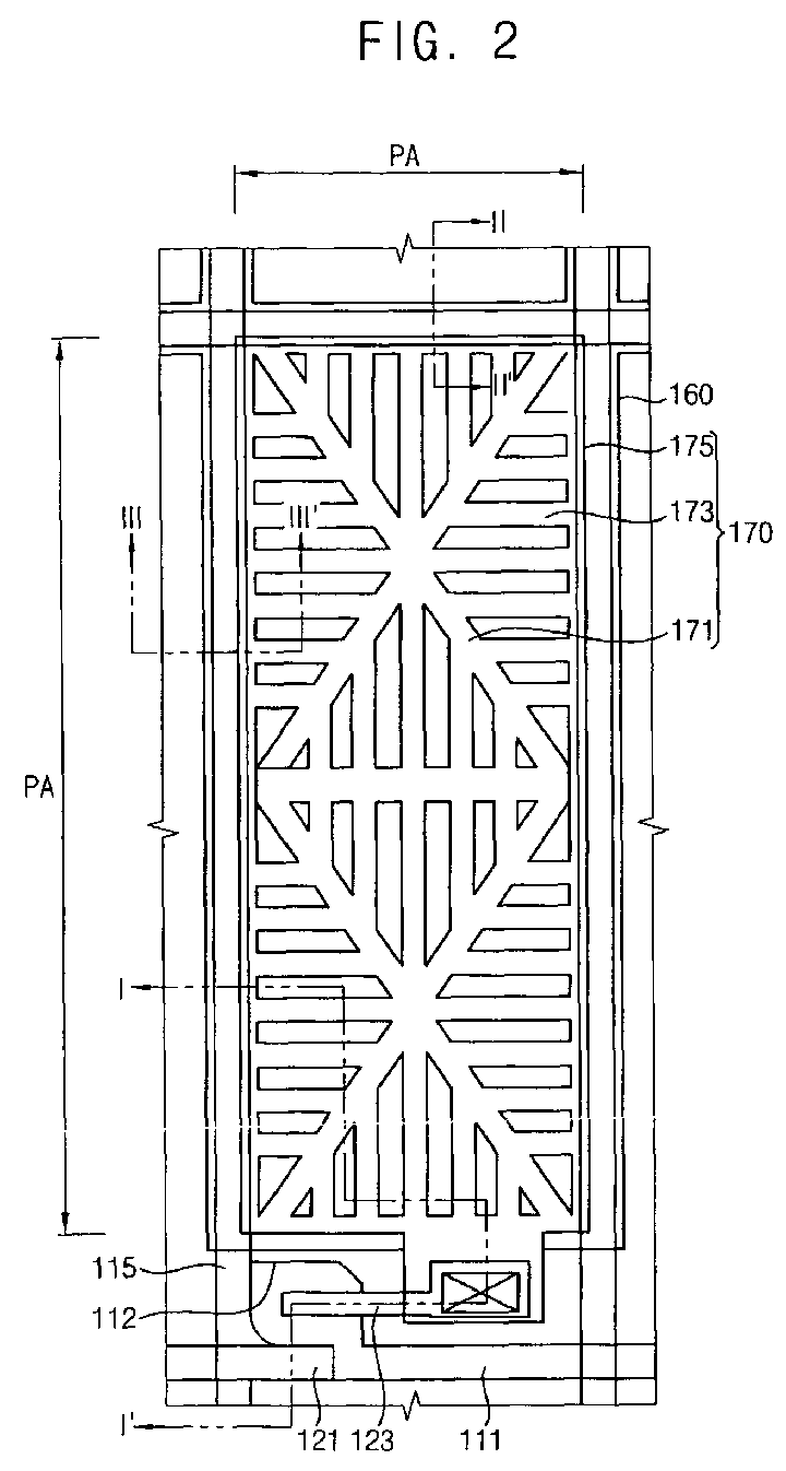
Array substrate, methods of manufacturing the array substrate, and liquid crystal display device having the array substrate
授权日
1900-01-01
公开(公告)号
EP2149813A1
申请日
2009-03-31
公开(公告)日
2010-02-03
当前申请(专利权)人
SAMSUNG DISPLAY CO., LTD.
发明人
YOU, HYE-RAN | UM, YOON-SUNG | KIM, SU-JEONG | LYU, JAE-JIN | PARK, SEUNG-BEOM
简单同族
CN101639597A | CN101639597B | EP2149813A1 | EP2149813B1 | JP2010033028A | JP5596305B2 | KR1020100012080A | US20100019998A1 | US20120119215A1 | US8199088
简单同族成员数量
10
简单同族被引用专利总数
50
诉讼案件数
0
法律状态/事件
授权 | 权利转移
抱歉,您的浏览器不支持PDF预览,请点击链接下载PDF文件