专利数据库
统计分析
产业报告
专利数据监控
产业人才
行业动态
产业政策法规
维权援助
个人中心
详情
文本
图像
标题
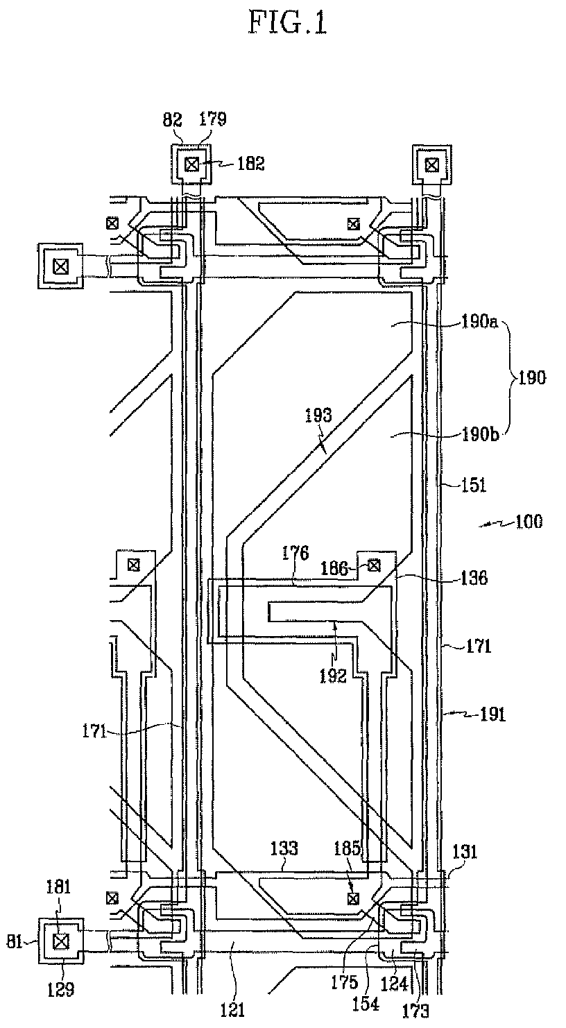
Liquid crystal display with wide viewing angle
授权日
1900-01-01
公开(公告)号
EP1605511A2
申请日
2005-06-03
公开(公告)日
2005-12-14
当前申请(专利权)人
SAMSUNG DISPLAY CO., LTD.
发明人
JUNG, MEE-HYE | CHOI, NAK-CHO | YOU, DOO-HWAN | LYU, JAE-JIN
简单同族
CN100465745C | CN1704829A | EP1605511A2 | EP1605511A3 | EP1605511B1 | JP2005346082A | JP4815584B2 | KR101112537B1 | KR1020050115098A | TW200604648A | US20050280749A1 | US20090233393A1 | US7554617 | US7787100
简单同族成员数量
14
简单同族被引用专利总数
65
诉讼案件数
0
法律状态/事件
授权 | 权利转移
抱歉,您的浏览器不支持PDF预览,请点击链接下载PDF文件