专利数据库
统计分析
产业报告
专利数据监控
产业人才
行业动态
产业政策法规
维权援助
个人中心
详情
文本
图像
标题
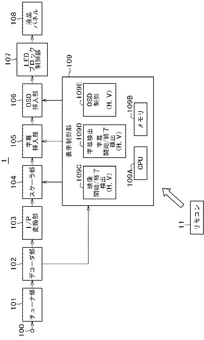
映像表示装置
授权日
1900-01-01
公开(公告)号
JP2011242685A
申请日
2010-05-20
公开(公告)日
2011-12-01
当前申请(专利权)人
日立コンシューマエレクトロニクス株式会社
发明人
木村 勝信 | 益岡 信夫
简单同族
CN102256072A | JP2011242685A | US20110285764A1
简单同族成员数量
3
简单同族被引用专利总数
101
诉讼案件数
0
法律状态/事件
驳回
抱歉,您的浏览器不支持PDF预览,请点击链接下载PDF文件