专利数据库
统计分析
产业报告
专利数据监控
产业人才
行业动态
产业政策法规
维权援助
个人中心
详情
文本
图像
标题
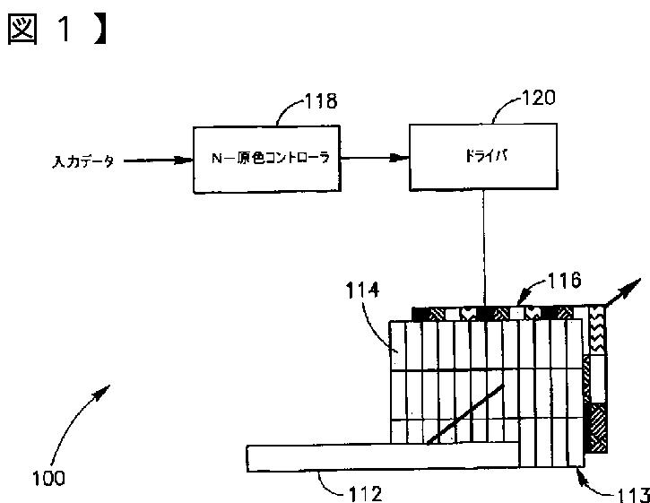
表示装置及び液晶表示装置
授权日
2014-12-05
公开(公告)号
JP5656742B2
申请日
2011-05-30
公开(公告)日
2015-01-21
当前申请(专利权)人
ジェノア·カラー·テクノロジーズ·リミテッド
发明人
ロス、シュムエル | ベン-コーリン、モシェ | マルカ、ドロン
简单同族
CN103177701A | EP1704555A2 | EP1704555A4 | EP2423911A2 | EP2423911A3 | JP2007518117A | JP2007518117A5 | JP2011237806A | JP2014186353A | JP5345286B2 | JP5656742B2 | JP5837652B2 | US20050134785A1 | US7483095 | WO2005057532A2 | WO2005057532A3
简单同族成员数量
16
简单同族被引用专利总数
118
诉讼案件数
0
法律状态/事件
授权
抱歉,您的浏览器不支持PDF预览,请点击链接下载PDF文件