专利数据库
统计分析
产业报告
专利数据监控
产业人才
行业动态
产业政策法规
维权援助
个人中心
详情
文本
图像
标题
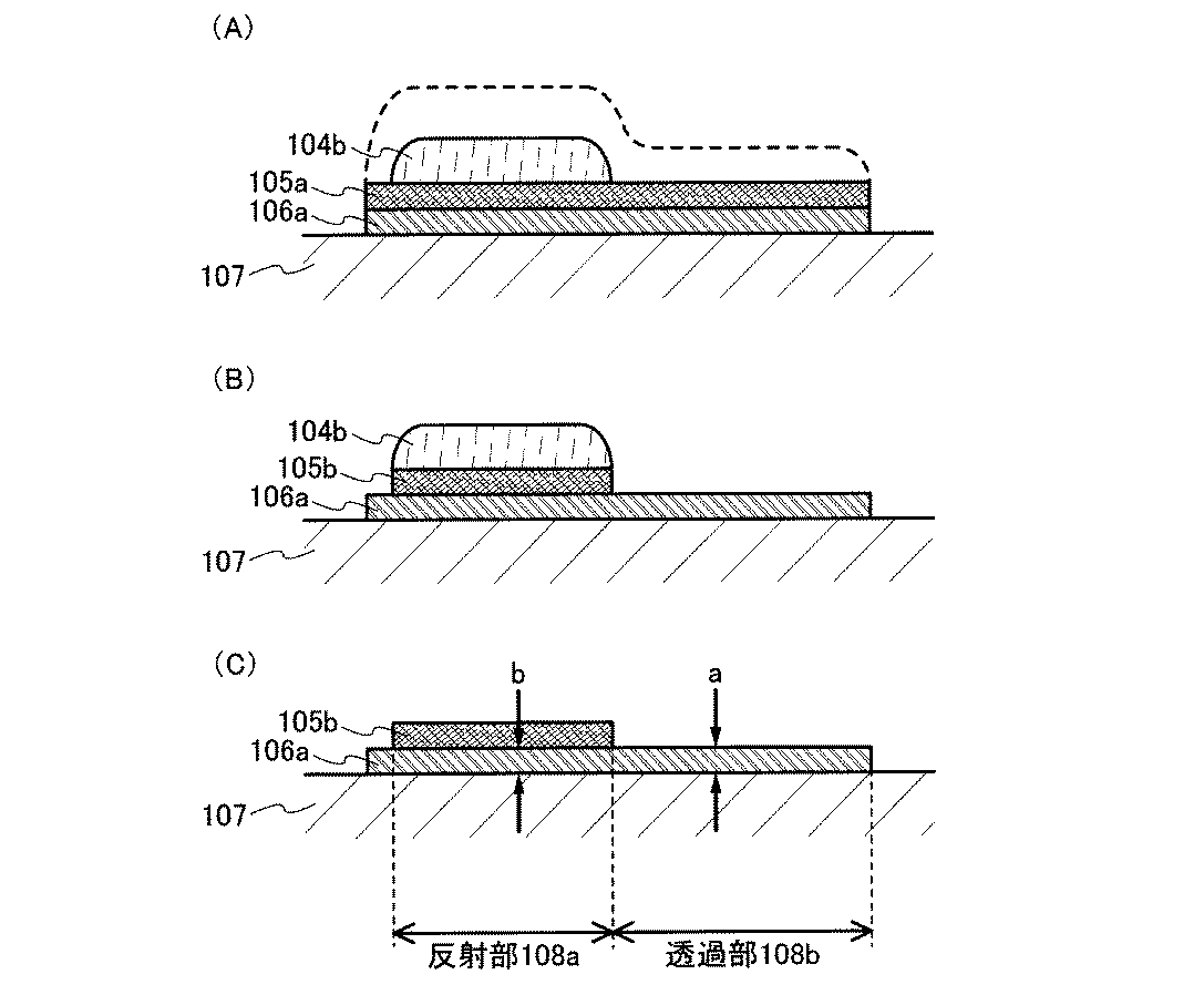
液晶表示装置
授权日
1900-01-01
公开(公告)号
JP2019197240A
申请日
2019-08-26
公开(公告)日
2019-11-14
当前申请(专利权)人
株式会社半導体エネルギー研究所
发明人
木村 肇
简单同族
CN1991545A | CN1991545B | JP2010117733A | JP2012032836A | JP2012194592A | JP2014115677A | JP2014115678A | JP2015129952A | JP2015146053A | JP2015146053A5 | JP2015179282A | JP2016033681A | JP2016212446A | JP2018077515A | JP2019139246A | JP2019197240A | JP5025743B2 | JP5063807B2 | JP5634629B2 | JP6605050B2 | JP6681127B2 | KR101317254B1 | KR1020070070129A | US10444564 | US20070146592A1 | US20100177269A1 | US20140132872A1 | US20160033820A1 | US20180024402A1 | US20190324321A1 | US20190377225A1 | US7821613 | US8634044 | US9703140
简单同族成员数量
34
简单同族被引用专利总数
120
诉讼案件数
0
法律状态/事件
授权
抱歉,您的浏览器不支持PDF预览,请点击链接下载PDF文件