专利数据库
统计分析
产业报告
专利数据监控
产业人才
行业动态
产业政策法规
维权援助
个人中心
详情
文本
图像
标题
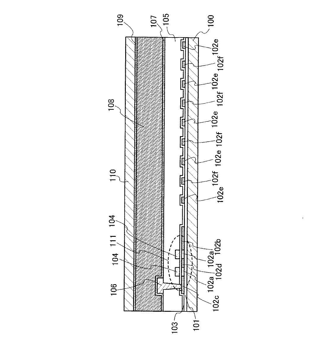
液晶表示装置
授权日
1900-01-01
公开(公告)号
JP2019066891A
申请日
2019-02-04
公开(公告)日
2019-04-25
当前申请(专利权)人
株式会社半導体エネルギー研究所
发明人
木村 肇
简单同族
JP2014002387A | JP2014002387A5 | JP2015064606A | JP2016035584A | JP2017199000A | JP2019066891A | JP5668106B2 | JP6030108B2 | US10095070 | US20080002079A1 | US20110037917A1 | US20130215369A1 | US20140098334A1 | US20190033639A1 | US7847904 | US8537318 | US8610862
简单同族成员数量
17
简单同族被引用专利总数
151
诉讼案件数
0
法律状态/事件
实质审查
抱歉,您的浏览器不支持PDF预览,请点击链接下载PDF文件