专利数据库
统计分析
产业报告
专利数据监控
产业人才
行业动态
产业政策法规
维权援助
个人中心
详情
文本
图像
标题
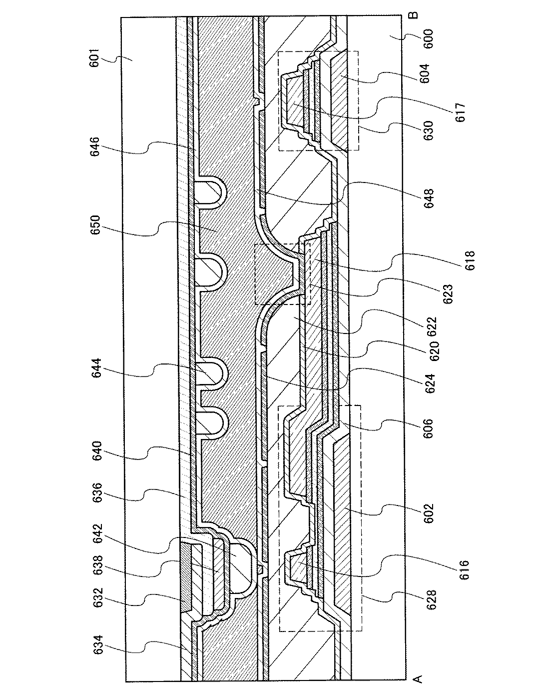
液晶表示装置
授权日
1900-01-01
公开(公告)号
JP2017215616A
申请日
2017-09-06
公开(公告)日
2017-12-07
当前申请(专利权)人
株式会社半導体エネルギー研究所
发明人
山崎 舜平 | 鈴木 幸恵 | 桑原 秀明 | 木村 肇
简单同族
CN101339342A | CN101339342B | CN101872097A | CN101872097B | JP2009038353A | JP2009038353A5 | JP2014067049A | JP2014075590A | JP2014075590A5 | JP2015028663A | JP2016167077A | JP2017215616A | JP2018141995A | JP2018151638A | JP2019194700A | JP2019194700A5 | JP2020034917A | JP2020034918A | JP5731621B2 | JP6208279B2 | JP6339751B1 | JP6622941B1 | JP6622942B1 | JP6648186B2 | KR101152949B1 | KR101517527B1 | KR101537747B1 | KR101537750B1 | KR1020090004556A | KR1020100080580A | KR1020130085398A | KR1020140131494A | TW200916930A | TW201106076A | TW201418856A | TW201418857A | TW201418858A | TW201619682A | TW201812420A | TW201835664A | TW201932953A | TWI432863B | TWI432864B | TWI531847B | TWI531848B | TWI531849B | TWI617871B | TWI663458B | TWI666500B | TWI694295B | US10338447 | US10678107 | US10712625 | US20090009677A1 | US20100238391A1 | US20120086012A1 | US20130077011A1 | US20130265518A1 | US20150001546A1 | US20160011446A1 | US20180011358A1 | US20190265528A1 | US20200133041A1 | US7738050 | US8111362 | US8325285 | US8462286 | US8842230 | US9188825 | US9766526
简单同族成员数量
70
简单同族被引用专利总数
117
诉讼案件数
0
法律状态/事件
撤回
抱歉,您的浏览器不支持PDF预览,请点击链接下载PDF文件