专利数据库
统计分析
产业报告
专利数据监控
产业人才
行业动态
产业政策法规
维权援助
个人中心
详情
文本
图像
标题
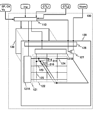
表示装置の駆動方法、及び液晶表示装置
授权日
1900-01-01
公开(公告)号
JP2011170328A
申请日
2011-01-13
公开(公告)日
2011-09-01
当前申请(专利权)人
株式会社半導体エネルギー研究所
发明人
早川 昌彦 | 脇本 研一
简单同族
JP2011170328A | JP2011170328A5 | JP2012230413A | JP2015129940A | JP5178941B2 | JP5952435B2 | KR101750126B1 | KR1020120115521A | TW201137838A | TWI536347B | US20110175895A1 | US8817009 | WO2011089832A1
简单同族成员数量
13
简单同族被引用专利总数
125
诉讼案件数
0
法律状态/事件
撤回
抱歉,您的浏览器不支持PDF预览,请点击链接下载PDF文件