专利数据库
统计分析
产业报告
专利数据监控
产业人才
行业动态
产业政策法规
维权援助
个人中心
详情
文本
图像
标题
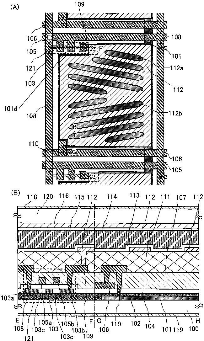
液晶表示装置
授权日
1900-01-01
公开(公告)号
JP2013214078A
申请日
2013-05-17
公开(公告)日
2013-10-17
当前申请(专利权)人
株式会社半導体エネルギー研究所
发明人
木村 肇
简单同族
CN101075051A | CN101075051B | CN102053429A | CN103257488A | CN103257488B | CN106873259A | JP2013174906A | JP2013214078A | JP2014167649A | JP2014194572A | JP2014197211A | JP2014197211A5 | JP2015084107A | JP2016170421A | JP2017138635A | JP2017138635A5 | JP2018036673A | JP2018124562A | JP2019124954A | JP2019174844A | JP2019200438A | JP2020016908A | JP5376739B2 | JP5542266B2 | JP5933628B2 | JP5965974B2 | JP6254315B2 | JP6310609B2 | JP6570686B2 | JP6591719B2 | JP6613003B2 | KR101405904B1 | KR101405906B1 | KR101437037B1 | KR101457658B1 | KR101469936B1 | KR101590144B1 | KR101627310B1 | KR101648930B1 | KR101649362B1 | KR101873451B1 | KR101931639B1 | KR1020070111351A | KR1020130120435A | KR1020130124465A | KR1020140051877A | KR1020140066140A | KR1020140117325A | KR1020140131493A | KR1020150016395A | KR1020150083069A | KR1020160099076A | KR1020170086439A | KR1020180079253A | KR1020180136422A | KR1020190045143A | KR1020200023622A | KR102060552B1 | TW200809357A | TW201341919A | TW201616205A | TW201719256A | TW201818126A | TW201818134A | TW201921065A | TW201932949A | TWI444731B | TWI545380B | TWI585498B | TWI617869B | TWI633365B | TWI641897B | TWI675243B | US10001678 | US10509271 | US20070284627A1 | US20110024758A1 | US20130128174A1 | US20140063397A1 | US20150070621A1 | US20160246131A1 | US20170307943A1 | US20190033668A1 | US20190235323A1 | US20190346723A1 | US20200117061A1 | US7816682 | US8338865 | US8841671 | US8872182 | US9268188 | US9709861
简单同族成员数量
92
简单同族被引用专利总数
183
诉讼案件数
0
法律状态/事件
授权
抱歉,您的浏览器不支持PDF预览,请点击链接下载PDF文件