专利数据库
统计分析
产业报告
专利数据监控
产业人才
行业动态
产业政策法规
维权援助
个人中心
详情
文本
图像
标题
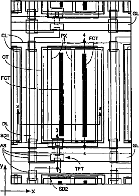
液晶显示装置
授权日
2008-01-23
公开(公告)号
CN100363794C
申请日
2000-09-11
公开(公告)日
2008-01-23
当前申请(专利权)人
株式会社日本显示器
发明人
小野记久雄 | 米谷慎 | 山本恒典 | 平方纯一 | 仲吉良彰
简单同族
CN100363794C | CN1208671C | CN1289067A | CN1680845A | CN1873490A | EP1087255A2 | EP1087255A3 | EP1087255B1 | EP2372443A1 | EP2372443B1 | JP2001091972A | JP3712899B2 | KR100373667B1 | KR1020010030357A | TWI228199B | US6356331
简单同族成员数量
16
简单同族被引用专利总数
108
诉讼案件数
0
法律状态/事件
授权 | 许可 | 权利转移
抱歉,您的浏览器不支持PDF预览,请点击链接下载PDF文件