专利数据库
统计分析
产业报告
专利数据监控
产业人才
行业动态
产业政策法规
维权援助
个人中心
详情
文本
图像
标题
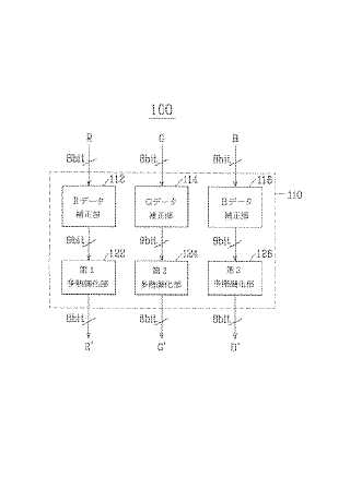
色補正機能を有する液晶表示装置並びにその駆動装置及び駆動方法
授权日
1900-01-01
公开(公告)号
JP2009230157A
申请日
2009-07-09
公开(公告)日
2009-10-08
当前申请(专利权)人
三星電子株式会社
发明人
李 昇 祐 | 金 鍾 宣 | 權 秀 現
简单同族
CN1290074C | CN1395229A | JP2003029724A | JP2009064031A | JP2009230157A | JP4923021B2 | JP4929315B2 | KR100750929B1 | KR1020030005748A | TWI288856B | US20030016199A1 | US20060007089A1 | US20100309234A1 | US7030846 | US7746304 | US8823618 | WO2003007287A1
简单同族成员数量
17
简单同族被引用专利总数
155
诉讼案件数
0
法律状态/事件
未缴年费 | 权利转移
抱歉,您的浏览器不支持PDF预览,请点击链接下载PDF文件