专利数据库
统计分析
产业报告
专利数据监控
产业人才
行业动态
产业政策法规
维权援助
个人中心
详情
文本
图像
标题
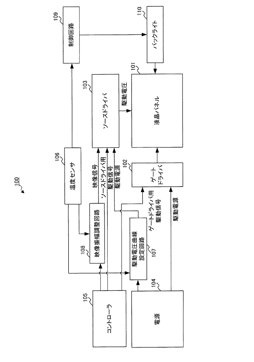
液晶表示装置
授权日
1900-01-01
公开(公告)号
JP2017067817A
申请日
2015-09-28
公开(公告)日
2017-04-06
当前申请(专利权)人
パナソニックIPマネジメント株式会社
发明人
野崎 秀樹 | 吉澤 昭浩 | 大川 典夫
简单同族
JP2017067817A
简单同族成员数量
1
简单同族被引用专利总数
0
诉讼案件数
0
法律状态/事件
撤回
抱歉,您的浏览器不支持PDF预览,请点击链接下载PDF文件