专利数据库
统计分析
产业报告
专利数据监控
产业人才
行业动态
产业政策法规
维权援助
个人中心
详情
文本
图像
标题
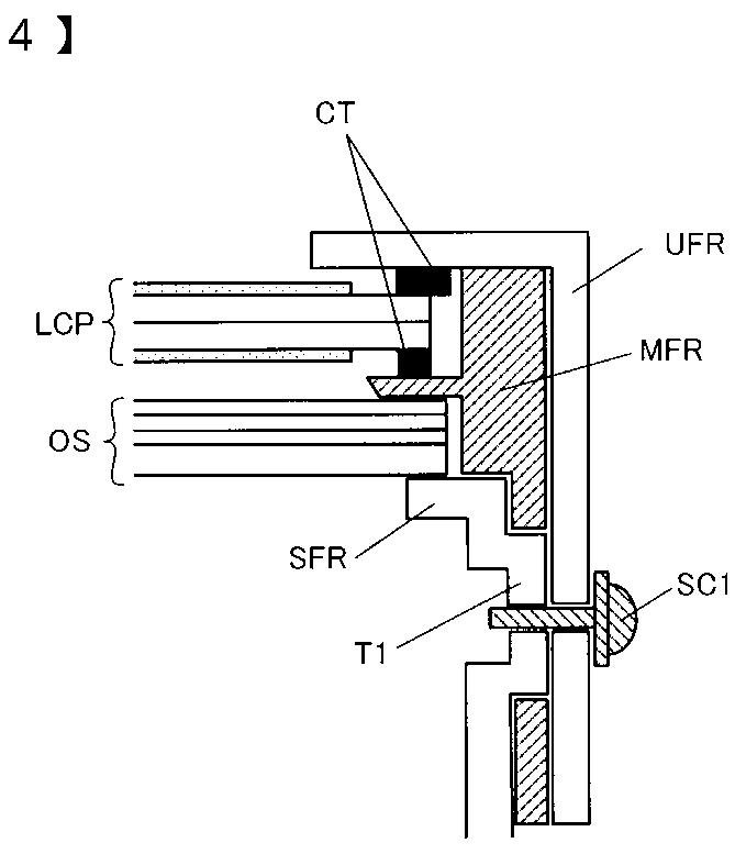
液晶表示装置
授权日
2013-05-24
公开(公告)号
JP5275173B2
申请日
2009-08-25
公开(公告)日
2013-08-28
当前申请(专利权)人
株式会社ジャパンディスプレイ | パナソニック液晶ディスプレイ株式会社
发明人
清水 慎治
简单同族
JP2011047974A | JP5275173B2 | US20110051033A1 | US8310617
简单同族成员数量
4
简单同族被引用专利总数
66
诉讼案件数
0
法律状态/事件
授权 | 权利转移
抱歉,您的浏览器不支持PDF预览,请点击链接下载PDF文件