专利数据库
统计分析
产业报告
专利数据监控
产业人才
行业动态
产业政策法规
维权援助
个人中心
详情
文本
图像
标题
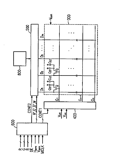
液晶表示装置
授权日
1900-01-01
公开(公告)号
JP2010122692A
申请日
2009-12-04
公开(公告)日
2010-06-03
当前申请(专利权)人
サムスン エレクトロニクス カンパニー リミテッド
发明人
リ, ベック-ウォン
简单同族
CN100443961C | CN1806190A | JP2006523862A | JP2010122692A | JP2010122692A5 | JP4495724B2 | JP5038384B2 | KR100951350B1 | KR1020040090295A | US20060202927A1 | US20100207970A1 | US20110299023A1 | US7710374 | US8259051 | WO2004092812A1
简单同族成员数量
15
简单同族被引用专利总数
131
诉讼案件数
0
法律状态/事件
授权 | 权利转移
抱歉,您的浏览器不支持PDF预览,请点击链接下载PDF文件